[Nächstes Kapitel] [vorangehendes Kapitel] [vorangehendes Kapitel (SeitenEnde)] [SeitenEnde] [Inhalt]
Melden Sie sich auf der Startseite www.eAssistant.eu mit Ihrem Benutzernamen und Ihrem Passwort an. Um das Berechnungsmodul für die Zahnstange/Ritzel-Paarung zu starten, klicken Sie in der Baumstruktur auf der linken Seite auf den Menüpunkt „Zahnradberechnung“ und anschließend auf „Zahnstange“.

Dieses Modul ermöglicht eine einfache und schnelle Berechnung der Geometrie und Festigkeit von Paarungen Ritzel-Zahnstange. Die Geometrieberechnung erfolgt nach DIN 3960, DIN 3961, DIN 3964, DIN 3967, DIN 3977 und DIN 868, die Tragfähigkeitsberechnung erfolgt nach DIN 3990 Methode B, ISO 6336 Methode B und ANSI/AGMA 2101-D04. Es werden sowohl Geradverzahnung als auch Schrägverzahnung unterstützt. Bei der Berechnung werden Profilverschiebung am Ritzel, Kopfkantenbruch und Toleranzen berücksichtigt. Für die Zahnstange ist die Vorgabe der Zähnezahl oder alternativ die Länge der Zahnstange. Weiterhin ermöglicht das Modul die Berechnung von quaderförmigen als auch runden Zahnstangen.

Im Prinzip entspricht die Geometrie einer Zahnstange der abgewickelten Geometrie eines evolventischen
Zahnrades mit einem unendlich großen Teilkreis- und Grundkreisdurchmesser. Dadurch entsteht ein
geradflankiges Zahnprofil. Dieses Profil eignet sich als Bezugsprofil zur Festlegung der geometrischen
Grundgrößen. Mit der Kombination Zahnstange-Ritzel lassen sich Rotationsbewegungen in Linearbewegungen
oder umgekehrt umwandeln. Das Gegenrad einer Zahnstange ist immer ein außenverzahntes Stirnrad
(Ritzel).
Die Ergebnisse werden bereits während jeder Eingabe berechnet und immer aktuell im Ergebnisfeld angezeigt.
Es wird nach jeder abgeschlossenen Eingabe neu durchgerechnet. Dadurch werden jegliche Veränderungen
der Eingabewerte auf die Ergebnisse schnell sichtbar. Werden die Mindestsicherheiten nicht erfüllt, so wird das
Ergebnis mit einer roten Markierung angezeigt. Grundsätzlich können Sie jede Eingabe mit der Enter-Taste
oder mit einem Klick in ein neues Eingabefeld abschließen. Alternativ können Sie mit der Tab-Taste durch
die Eingabemaske springen oder nach jeder Eingabe auf den Button „Berechnen“ klicken. Auch
hierbei werden die Werte entsprechend übernommen und die Ergebnisse sofort in der Übersicht
angezeigt.
Der Normalmodul \(m_{n}\) ist eine Grundgröße der Verzahnungsgeometrie. Der Modul bestimmt die Größe der Verzahnung. Das bedeutet, dass sich mit dem Modul proportional alle Verzahnungsabmessungen vergrößern. Der Modul ist definiert als Quotient aus Teilkreisdurchmesser \(d\) und Zähnezahl \(z\) und wird in \(mm\) angegeben. Um die Vielfalt der Verzahnungen einzuschränken, wurde der Modul genormt (siehe Tabellen). Die Berechnung im eAssistant ist mit beliebigen Modulen, auch mit mehreren Nachkommastellen, möglich.
| Modulreihen in mm nach DIN 780 Reihe 1 (Teil 1)
| |||||||
| 0,05 | 0,06 | 0,08 | 0,10 | 0,12 | 0,16 | 0,20 | 0,25 |
| 0,3 | 0,4 | 0,5 | 0,6 | 0,7 | 0,8 | 0,9 | 1 |
| Modulreihen in mm nach DIN 780 Reihe 1 (Teil 2)
| ||||||||
| 1,25 | 1,5 | 2 | 2,5 | 3 | 4 | 5 | 6 | 8 |
| 10 | 12 | 16 | 20 | 25 | 32 | 40 | 50 | 60 |
| Modulreihen in mm nach DIN 780 Reihe 2 (Teil 1)
| ||||||||
| 0,055 | 0,07 | 0,09 | 0,11 | 0,14 | 0,18 | 0,22 | 0,28 | 0,35 |
| 0,45 | 0,55 | 0,65 | 0,75 | 0,85 | 0,95 | 1,125 | 1,375 | 1,75 |
| Modulreihen in mm nach DIN 780 Reihe 2 (Teil 2)
| |||||||
| 2,25 | 2,75 | 3,5 | 4,5 | 5,5 | 7 | 9 | 11 |
| 14 | 18 | 22 | 28 | 36 | 45 | 55 | 70 |
Mit wachsendem Abstand vom Grundkreis wächst auch die Schräglage der Evolvente bzw. der Profilwinkel \(\alpha _{y}\).
Erfahrungsgemäß ist ein Eingriffswinkel \(\alpha _{n}\) (am Teilkreis) von 20\(^{\circ }\) günstig. Öffnen Sie das Berechnungsmodul, ist
standardmäßig ein Eingriffswinkel von 20\(^\circ \) eingestellt.
Bei einer Schrägverzahnung sind die Zähne gegenüber der Achsrichtung um den Winkel \(\beta \) geneigt. Bei einer Geradverzahnung beträgt \(\beta \) = 0\(^{\circ }\), bei Schrägverzahnungen kann \(\beta \) bis zu 45\(^{\circ }\) betragen. 45\(^{\circ }\) ist auch der Maximalwert, der in das Eingabefeld für den Schrägungswinkel eingetragen werden kann. Geradverzahnte Zahnstangen-Ritzel-Systeme eignen sich für geringere Umfangsgeschwindigkeiten. Zahnstangen mit einer Schrägverzahnung laufen dagegen leiser und ruhiger und lassen sich auch bei höheren Umfangsgeschwindigkeiten einsetzen.

Hinweis: Eine Berechnung mit einem Schrägungswinkel größer als 45\(^{\circ }\) ist grundsätzlich möglich. Wenn Sie
diese Funktion nutzen wollen, dann wenden Sie sich bitte an uns, um Ihnen diese freizuschalten.
Der Achsabstand \(a\) ergibt sich aus dem Abstand der Ritzelmitte zur Bezugskante der Zahnstange und wird bei bestimmten Eingaben, zum Beispiel bei der Änderung des Normalmoduls \(m_{n}\), automatisch berechnet.

Der Betriebsachsabstand kann aus der Profilverschiebung des Ritzels oder umgekehrt ermittelt werden. Der Achsabstand kann auch manuell vorgegeben werden, dann errechnet sich daraus der Profilverschiebungsfaktor des Ritzels. Dazu klicken Sie einfach auf den Schlossbutton neben dem Eingabefeld für den Profilverschiebungsfaktor. Dadurch wird das Eingabefeld für den Profilverschiebungsfaktor deaktiviert und die Eingabemöglichkeit für den Achsabstand aktiviert und Sie können den entsprechenden Wert eingeben.

Nachdem Sie einen Schrägungswinkel hinzugefügt haben, können Sie die Schrägungsrichtung von Ritzel und Zahnstange festlegen. Hierbei gilt, wenn zwei außenverzahnte Schrägzahnräder gepaart werden, müssen beide Verzahnungen den gleichen, aber entgegengesetzt gerichteten Schrägungswinkel \(\beta \) besitzen.

Wählen Sie beim Ritzel die Option „links“ aus. So bedeutet dies: Ritzel ist linkssteigend, Zahnstange ist rechtssteigend.

Wählen Sie bei der Zahnstange die Option „links“ aus. So bedeutet dies: Ritzel ist rechtssteigend, Zahnstange ist linkssteigend.

Die Zähnezahl eines Rades ist die Anzahl vorhandener Zähne, die sich auf dem vollen Radumfang befinden.
Bei Außenverzahnungen wird die Zähnezahl positiv definiert. Je kleiner der Betrag der Zähnezahl ist, umso
größer ist der Einfluss der Profilverschiebung.
Hinweis: Eine Berechnung mit nicht ganzzahligen Zähnezahlen, d.h. Zähnezahlen mit Nachkommastellen, ist
auch möglich. Möchten Sie diese Funktion nutzen, dann wenden Sie sich bitte an uns, um Ihnen diese
freizuschalten.
Um die optimale Länge oder Zähnezahl der Zahnstange zu ermitteln, bietet die eAssistant-Software Ihnen hier eine einfache und komfortable Lösung. Mit einem Klick auf den Taschenrechner-Button, öffnet sich ein neues Fenster. Hier lässt sich jetzt auf Knopfdruck die Länge oder alternativ die Zähnezahl der Zahnstange auslegen.

Geben Sie eine Zähnezahl ein und bestätigen Sie diese mit der Enter-Taste. Anschließend wird Ihnen die ideale Zahnstangenlänge angezeigt. Alternativ besteht auch die Möglichkeit, die Zahnstangenlänge vorzugeben, um so einen Vorschlag für die Zähnezahl der Zahnstange zu erhalten. Klicken Sie dazu auf den Schloss-Button, um das Eingabefeld für die Länge der Zahnstange freizuschalten und einen Wert einzugeben. Dann wird automatisch die Zähnezahl ermittelt.

Die Zahnbreite \(b\) ist der Abstand der beiden Stirnflächen auf der Bezugsfläche einer Verzahnung.

In der folgenden Tabelle finden Sie Richtwerte zur Zahnbreite \(b\) sowie zu den Mindestzähnezahlen \(z\).
| Richtwerte für Zahnbreiten \(b\) und Mindestzähnezahlen \(z\) von Stirnrädern1
| ||
| Zähne geschnitten | Zahnräder auf steifen Wellen, die in Wälzlagern oder vorzüglichen Gleitlagern laufen, starrer Unterbau | \(b \leq 30\ldots 40\cdot {m}\) |
| Zahnräder in normalen Getriebekästen, Wälz- oder Gleitlagerung | \(b \leq 25\cdot {m}\) | |
| Zahnräder auf Stahlkonstruktionen, Trägern u. dgl. | \(b \leq 15\cdot {m}\) | |
| Zahnräder mit bester Lagerung in Hochleistungsgetrieben | \(b \leq 2\cdot {d_{1}}\) | |
| Zähne roh gegossen | fliegend gelagerte Zahnräder | \(b \leq 10\cdot {m}\) |
| Zahnräder mit großen
Umfangsgeschwindigkeiten \((\upsilon > 4m/s)\) und erheblicher Kraftleistung, wenn
\(\varepsilon _{\alpha } > 1,5\) | \(z_{1} \geq 16\) | |
| Zahnräder mit mittleren Umfangsgeschwindigkeiten \((\upsilon = 0,8\ldots 4m/s)\) | \(z_{1} \geq 12\) | |
| Zahnräder mit kleinen Umfangsgeschwindigkeiten \((\upsilon < 0,8m/s)\) oder bei geringer
Kraftleistung für untergeordnete Zwecke | \(z_{1} \geq 10\) | |
| Außenradpaare grundsätzlich | \(z_{1} + z_{2} \geq 24\) | |
| Innenpaare grundsätzlich | \(z_{2} \geq z_{1} + 10\) | |
| 1 Tabelle aus: Karl-Heinz Decker: Maschinenelemente: Gestaltung und Berechnung, 1992, S. 506,
Tab.: 23.2
| ||
Da sich die Zahnform der Zahnstange sich nicht durch eine Profilverschiebung verändern lässt, kann nur das Ritzel eine Profilverschiebung erhalten. Profilverschobene Ritzel können ohne Schwierigkeit mit Zahnstangen kämmen. Eine Verschiebung des genutzten Profilbereichs gegenüber der Normallage wird Profilverschiebung genannt. Durch die Profilverschiebung wird die Zahnform beeinflusst. Die Berechnung für den Kopfkreisdurchmesser \(d_{a}\) bzw. für den Fußkreisdurchmesser \(d_{f}\) enthält den Profilverschiebungsfaktor \(x\). Bei der Profilverschiebung wird das Werkzeug um den Betrag \(x \cdot m\) vom Teilkreis in Richtung Kopfkreis ab -oder zugerückt. Nach DIN 3960 ist die Profilverschiebung

Der Profilverschiebungsfaktor für das Ritzel kann frei gewählt werden. Dabei ist zu beachten, dass es nicht zu Eingriffsstörungen kommt. Sollte eine Eingriffsstörung vorliegen, erhalten Sie einen entsprechenden Hinweis im Meldungsfenster.

Hier haben Sie die Möglichkeit, den Profilverschiebungsfaktor auszulegen bzw. zu optimieren. Um den Profilverschiebungsfaktor zu optimieren, klicken Sie auf das Taschenrechner-Symbol. Zusaetzlich zu der Option „eigene Eingabe“ stehen die beiden nachfolgenden Optionen zur Auswahl: „Geometrisches Minimum Ritzel“ und „Geometrisches Maximum Ritzel“. Dabei werden die möglichen Grenzwerte der Profilverschiebung für das Ritzel, d.h. die minimale und maximale ausführbare Profilverschiebung hinsichtlich Unterschnittgrenze und Spitzengrenze ermittelt.

Der Kopfkreisdurchmesser \(d_{a}\) ist von dem Modul abhängig und wird so automatisch vom Programm berechnet.
Ändern Sie den Profilverschiebungsfaktor des Ritzels, dann ändert sich auch der Kopfkreis. Nun besteht die
Möglichkeit, diesen Kopfkreisdurchmesser mit Hilfe des Schloss-Buttons freizuschalten, um somit den
Kopfkreisdurchmesser leicht zu modifizieren. Beachten Sie, dass der Kopfkreisdurchmesser zusätzlich auch
die Kopfhöhenänderung beeinflusst. Klicken Sie erneut auf den Button, wird das Eingabefeld wieder
deaktiviert und der nach DIN berechnete Wert eingesetzt. Falls Sie ein Sonderwerkzeug einsetzen, kann der
Kopfkreisdurchmesser auch durch eine Werkzeuganpassung in der Maske „Werkzeug“ geändert
werden.
Das Kopfkreisabmaß wird automatisch nach DIN ermittelt. Auch hier können Sie auf das Schloss-Symbol klicken, um die Eingabefelder manuell freizuschalten und Ihre eigenen Werte einzugeben. Klicken Sie erneut auf das Schloss-Symbol, wird das Eingabefeld wieder deaktiviert und die Abmaße jeweils nach der DIN bestimmt.

Die Kopfhöhenänderung \(k\) wird automatisch vom Programm so gesetzt, dass genügend Kopfspiel vorhanden ist. Bei Außenverzahnungen ist der Kopfhöhenänderungsfaktor \(k \le 0\). Klicken Sie auf das Schloss-Symbol, so können Sie die Eingabefelder manuell freischalten und Ihre eigenen Werte eingeben. Durch eine Kopfhöhenänderung beeinflussen Sie den Kopfkreis und das Kopfspiel.

Damit eine ungestörte Bewegung zwischen den Flanken möglich wird, sind zwischen den jeweiligen Verzahnungen bestimmte Spiele notwendig. Den Abstand zwischen Kopfkreis des Rades und Fußkreis des Gegenrades nennt man Kopfspiel \(c\).

Man unterscheidet zwischen zwei Arten von Zahnspielen, dem Kopfspiel \(c\) und dem Flankenspiel \(j\). Normale Räder besitzen ein Zahnrad-Bezugsprofil mit einer Kopfhöhe \(h_{a} = m\) bzw. ein Werkzeug-Bezugsprofil mit \(h_{fp} = m\). Die Fußhöhe \(h_{f}\) des Zahnrad-Bezugsprofils bzw. die Kopfhöhe \(h_{ap}\) des Werkzeug-Bezugsprofils muss größer sein, damit sich die Kopf- und Fußkreise der Räder nicht berühren.
Das Flankenspiel ist ein Spiel zwischen den Evolventenflanken und gleicht Abweichungen der
Zahndicken, des Achsabstandes, der Zahnform usw. aus. Um ein Klemmen der Zahnräder und um
Herstellungs- oder Einbauungenauigkeiten zu vermeiden, ist ein Flankenspiel notwendig. Dieses wird
nachträglich durch die Zahndicken- bzw. Zahnweitenabmaße verwirklicht. Siehe dazu auch Kapitel 7.4.8
„Normalflankenspiel“.
Der Fußkreisdurchmesser \(d_{f}\) ist eine Größe, die von dem jeweiligen Modul, der Profilverschiebung und der
Kopfhöhe des Werkzeug-Bezugsprofils abhängig ist und somit vom Programm berechnet wird. Der
Fußkreisdurchmesser ergibt sich also aus der Berechnung.
Die Abmaße für den Fußkreis ergeben sich aus Ihrer Berechnung und werden hier automatisch ausgeführt. Die Abmaße sind abhängig von den Zahndickentoleranzen. Werden diese zum Beispiel für ein Rad auf „0“ gesetzt, so ergeben sich die Fußkreisabmaße für dieses Rad auch zu „0“.

Geben Sie hier die Höhe der Zahnstange ein. Als Grundkörper für die Zahnstange ist sowohl ein Quader (Rechteck) als auch ein Zylinder (Kreisprofil) möglich.

Mit Hilfe des Buttons „\(h_{z}\)/\(r_{z}\)“ können Sie zwischen der Eingabe der Zahnstangenhöhe \(h_{z}\) und dem Radius der Zahnstange \(r_{z}\) umschalten. Neben dem Button wird Ihnen die zugehörige Abbildung angezeigt.

Die Kopfkanten eines Zahnrades werden häufig abgerundet oder mit einem Kantenbruch versehen. Bei der Berechnung können Sie den Kopfkantenbruch berücksichtigen. Ein Kopfkantenbruch ist eine zu gleichen Teilen auf Kopffläche und Kopfflanke verteilte Schutzfase entlang der Kopfkanten. Ein Kopfkantenbruch bietet sich an, um zum Beispiel Eingriffsstörungen zu beheben. Alternativ zum Kopfkantenbruch kann eine Kopfabrundung vorgegeben werden. Diese kann entweder analog dem Kopfkantenbruch als Radialbetrag oder direkt als Radius definiert werden.

Hinweis: Wenn Sie die Geometrie für die Paarung definieren, können Sie sich jeweils die dazugehörige Zahnform über den Button „Zahnform“ ansehen (mehr Informationen zu den einzelnen Funktionen in der Zahnform erhalten Sie im Kapitel 7.5 „Darstellung der Zahnform“). Um zurück zur Geometrie zu gelangen, klicken Sie einfach auf den Button „Geometrie“.

Alternativ zum Kopfkantenbruch kann eine Kopfabrundung vorgegeben werden. Diese kann entweder analog dem Kopfkantenbruch als Radialbetrag oder direkt als Radius definiert werden. Die entsprechende Auswahl ist durch den farbigen Pfeil gekennzeichnet. Beim Kopfradius wird direkt der Radius eingegeben, beim Kopfradius (Rad.) wird der Radialbetrag eingetragen. Geben Sie den Kopfradius direkt als Wert ein, dann erhalten Sie im Berechnungsprotokoll den dazugehörigen Radialbetrag. Bei Kopfkantenrundung oder Kopfkantenbruch ist der Kopf-Formkreisdurchmesser um den doppelten Radialbetrag \(h_{K}\) kleiner als der Kopfkreisdurchmesser. In dem Kapitel ?? finden Sie dazu eine Abbildung.
Klicken Sie auf den Button „Details“, dann gelangen Sie zu weiteren Eingabemöglichkeiten, zum Beispiel zur Eingabe zum Innendurchmesser.

Der Innendurchmesser lässt sich nur für das Ritzel definieren. Beachten Sie bitte dabei, dass der
Innendurchmesser kleiner als der Fußkreisdurchmesser \(d_{f}\) sein muss. Ist der Innendurchmesser jedoch größer
als \(d_{f}\), dann wird automatisch vom Programm der Maximalwert für den Innendurchmesser eingesetzt. Sie
erhalten dazu auch einen entsprechenden Hinweis im Meldungsfenster. Bitte beachten Sie auch die Hinweise
zur Zahnkranzdicke unter 7.16 „Einstellungen“.
Die Breite eines Steges kann hier berücksichtigt werden. Es besteht für Sie die Möglichkeit, die Stegbreite
über den Schloss-Button zu verändern.
Noch ist der Schloss-Button deaktiviert. Definieren Sie eine Bohrung, also geben Sie einen Innendurchmesser in das dafür vorgesehene Eingabefeld ein, dann wird der Schloss-Button aktiviert und die Stegbreite zunächst auf den gleichen Wert wie die Zahnbreite gesetzt. Ist die Stegbreite kleiner als die Radbreite, wird die Radkörpersteifigkeit beeinflusst, die über den Radkörperfaktor \(C_{R}\) mit in die Berechnung einfließt. Daraus ergeben sich veränderte Zahnfedersteifigkeiten, welche wiederum Auswirkungen auf die Tragfähigkeit haben.

Berücksichtigen Sie hier eine Fase je Zahnende. Diese reduziert die rechnerische Zahnbreite bei der Tragfähigkeitsberechnung von Zahnfuß und -zahnflanke.

Die Wahl des Herstellverfahrens richtet sich nach Werkstoff, Baugröße, Stückzahl, Radart und Genauigkeit. Außerdem muss man die Gesetzmäßigkeiten des vorgesehenen Verfahrens bei der Konstruktion berücksichtigen. Im Berechnungsmodul des eAssistant wird zwischen dem Wälzfräsen sowie dem Wälzstoßen unterschieden.

Hinweis: Wie schon im Bereich der Geometrieeingabe haben Sie auch hier die Möglichkeit, bei Ritzel und
Zahnstange jeweils eine Bemerkung oder eine kurze Beschreibung hinzuzufügen.
Über eine Listbox können Sie die Werkzeuge „Wälzfräser“ oder „Schneidrad“ für die Berechnung der Zahnform auswählen. In der Listbox steht Ihnen außerdem die „Konstruierte Evolvente“ zur Verfügung. Die Wahl des Werkzeuges richtet sich hauptsächlich nach der Radart (Außen- oder Innenräder). Außenverzahnungen werden meist spanend mit einem Wälzfräser hergestellt. Zahnstangen werden im Wälzstoßverfahren mit einem Schneidrad auf Zahnstoßmaschinen oder auf Zahnstangen-Fräsmaschinen mit Formfräsern gefräßt.

Das Wälzfräsen ist das am häufigsten angewendete Verfahren für die Verzahnungsvor- und fertigbearbeitung von Außenverzahnungen. Eine hohe Flexibilität und Produktivität sind die Vorteile des Wälzfräsens. Den Wälzfräser kann man als schneidende Zahnstange betrachten. Die Schneidzähne haben Trapezprofil und sind in einer Schraubenlinie auf einem Grundzylinder angeordnet. Beim Fräsen ist die Achse des Wälzfräsers geneigt, so dass die Schraubengänge in Richtung der Flankenlinie des zu fräsenden Rades verlaufen. Der Wälzfräser und das Rad führen kontinuierliche Drehbewegungen aus, so dass sich das Rad nach einer Umdrehung des Fräsers weiterdreht. Zusätzlich führt der Fräser die Vorschubbewegung längs der Zahnbreite parallel zur Werkstückachse aus.

Beim Wälzstoßen wird als Werkzeug ein gerad- oder schrägverzahntes Schneidrad verwendet. Das Wälzstoßen ist ein kontinuierliches Verzahnverfahren, das nach dem Wälzprinzip arbeitet. Ein Stößel, auf dem das Schneidrad befestigt ist, führt parallel zur Radachse eine auf- und abwärtsgehende Bewegung aus. Das in Flanken hinterschliffene Schneidrad schneidet hierbei nur bei der Abwärtsbewegung. Nach dem Rückhub, d.h., wenn das Schneidrad in oberer Stellung außer Eingriff ist, führen Schneidrad und Werkstück schrittweise eine Wälzbewegung aus. Bei Geradstirnrädern verzahnt ein Schneidrad alle Räder gleichen Moduls, bei Schrägstirnrädern nur alle Räder gleichen Moduls und gleichen Schrägungswinkel. Das Wälzstoßverfahren ist besonders für kleine Zahnbreiten und kleine Innenverzahnungen bzw. Hohlräder geeignet.
Neben dem „Wälzfräser“ und dem „Schneidrad“ können Sie auch die „Konstruierte Evolvente“ als Werkzeug auswählen. Mit der konstruierten Evolvente wird Ihnen die Zahnformberechnung für innenverzahnte Stirnräder ermöglicht, welche mit Schneidrädern nicht mehr herstellbar sind. Dies trifft insbesondere für Anwendungen in der Feinwerktechnik zu. Mit dieser Werkzeugart ist auch die Zahnformerzeugung mit einem konstanten Fußrundungsradius möglich.

Zur Orientierung erhalten Sie dabei eine graphische Darstellung. Über die Radio-Button können Sie die jeweilige Darstellung auswählen. Für den Wälzfräser erhalten Sie das Fräser-Bezugsprofil, für das Schneidrad das Schneidrad-Zahnprofil.

Um zwei Zahnräder miteinander paaren zu können, müssen ihre Bestimmungsgrößen aufeinander abgestimmt werden. Nach DIN 867 dient ein Zahnstangenprofil für alle Räder als Bezugsprofil. Das geradflankige Profil der Zahnstange eignet sich für die Festlegung der geometrischen Grundgrößen. Das Bezugsprofil ist dabei so aufgebaut, dass die Räder einer Paarung das gleiche Bezugsprofil haben. Werden die Zahnköpfe des Bezugsprofils um das Kopfspiel \(c\) verlängert, dann wird das Bezugsprofil auch als Werkzeugprofil aufgefasst. Es schneidet oder walzt dann allerdings das Gegenprofil ein.
Die folgenden genormten Werkzeug-Bezugsprofile stehen Ihnen für die Berechnung zur Verfügung und können über die Listbox ausgewählt werden:

Neben diesen Werkzeug-Bezugsprofilen können Sie außerdem aus der Listbox sogenannte Protuberanzwerkzeuge auswählen. Mit diesen Werkzeugen kann bei der Herstellung ein Unterschnitt bzw. eine Restunterwühlung erzeugt werden, so dass beim anschließenden Schleifen der Zahnflanken Schleifkerben vermieden werden können (mehr Informationen zur Protuberanz erhalten Sie in dem Abschnitt 7.3.4 „Protuberanz“).

Über die Listbox lassen sich die folgenden Beispiele für Protuberanzprofile auswählen:
Hinweis: Wenn Sie in der Listbox „Eigene Eingabe“ wählen, werden der Kopfrundungsradius, die Kopfhöhe und die Fußhöhe aktiviert. Sie können so schnell das Werkzeug-Bezugsprofil individuell vorgeben.

Für den Fall, dass Sie mit Sonderwerkzeugen arbeiten, bietet die eAssistant-Software Ihnen hier eine einfache
und komfortable Lösung. Wie bereits oben erwähnt, kann das Werkzeug-Bezugsprofil in der Listbox über
„Eigene Eingabe“ festgelegt werden. Klicken Sie auf den Taschenrechner-Button, dann können Sie den
Kopfkreis sowie den Fußkreis für Ritzel und Zahnstange ändern und sich die dafür notwendigen Kopf- und
Fußhöhenfaktoren des Werkzeug-Bezugsprofils vorschlagen lassen. Übernehmen Sie diese Eingabewerte mit
dem Button „OK“, so erscheint in der Listbox der Eintrag „Eigene Eingabe“. Die Kopfhöhenänderung wird
dabei auf „0“ gesetzt.

Wählen Sie das Werkzeug „Schneidrad“ aus, dann wird die Listbox „Kopfform“ freigeschaltet. Wählen Sie den „Vollradius“ oder „Radius mit Geraden“ aus.

Protuberanzen werden als Flankenaufmaß für das Schleifen der Zahnflanke benutzt und werden durch die Verwendung entsprechend ausgebildeter Werkzeuge im Zahnfußbereich erzeugt. Durch das Wälzstoßen bzw. Abwälzfräsen mit den Protuberanzwerkzeugen bleibt auf der Zahnflanke eine Nachbearbeitungsschicht stehen. Diese Schicht wird anschließend durch Schleifen bzw. Schaben entfernt. Beim Abtragen dieser Schicht berührt das Werkzeug die Zahnfußausrundung nicht, wodurch Kerben und Schleifrisse im Zahnfußgrund vermieden werden.
Mit Hilfe dieser Formel wird der Protuberanzbetrag ermittelt. Ist die Höhe der Protuberanzflanke gegeben und nicht der Protuberanzbetrag, kann aus dieser Formel der Protuberanzbetrag errechnet werden.
\[pr^{*}_{P0} = \frac {(h^{*}_{prP0} - \rho ^{*}_{aP0}\cdot (1-\sin (\alpha _{p})))\cdot \sin (\alpha _{n} - \alpha _{p})} {\cos (\alpha _{p})} + \rho ^{*}_{aP0} \cdot (1-\cos (\alpha _{n} - \alpha _{p})) \]
Zur besseren Veranschaulichung erhalten Sie eine graphische Darstellung:

Eine Abweichung im Zahnfußbereich vom Profil zur Vermeidung von Schleifabsätzen ist üblich und zulässig. Auf Grund vom Schleifaufmaß muss man eine Restunterwühlung zulassen. Damit keine oder keine wesentliche Kürzung des evolventischen Profils vorliegt, ist eine größere Zahnfußtiefe erforderlich.
| Modulabhängige Restunterwühlung \(s_{pr}\) für geschliffene Verzahnungen2
| |||||
| Modul \(m\) | Bearbeitungs- | Restunter- | Protuberanz | Kopfhöhe | Kopfrundungsradius |
| zugabe \(q\) | wühlung \(s_{pr}\) | \(pr^{*}_{P0}\) | \(h^{*}_{aP0}\) | \(\rho ^{*}_{aP0}\) | |
| 2 | 0,160 | 0,100 | 0,260 | 2,900 | 0,500 |
| 2,5 | 0,170 | 0,110 | 0,280 | 3,625 | 0,625 |
| 3 | 0,180 | 0,120 | 0,300 | 4,350 | 0,750 |
| 4 | 0,200 | 0,140 | 0,340 | 5,800 | 1,000 |
| 5 | 0,220 | 0,160 | 0,380 | 7,250 | 1,250 |
| 6 | 0,240 | 0,180 | 0,420 | 8,700 | 1,500 |
| 7 | 0,260 | 0,200 | 0,460 | 10,150 | 1,7500 |
| 2 Tabelle aus: Linke, H.: Stirnradverzahnung Berechnung Werkstoffe Fertigung, Carl
Hanser Verlag, München, Wien, 2. Ausgabe 2010, S. 68, Tab.: 2.1/2
| |||||
Im Berechnungsmodul kann eine Bearbeitungszugabe je Zahnflanke berücksichtigt werden. Ein Vorverzahnungswerkzeug lässt für das nachfolgende Fertigverzahnen eine Bearbeitungszugabe \(q\) auf den Flanken und/oder Fuß stehen. Eine Bearbeitungszugabe ist der kleinste Abstand zwischen den Evolventen und der Vor-Verzahnung. Wird das Werkzeug-Bezugsprofil mit Protuberanz gewählt oder eingegeben, so bezieht sich die Bearbeitungszugabe auf die Flanken. Wird die Bearbeitungszugabe bei einem Werkzeug-Bezugsprofil ohne Protuberanz vorgegeben, so erhalten Flanken und Fuß das entsprechende Aufmaß.

| Maximale Bearbeitungszugaben3
| |
| Bearbeitungszugabe pro Zahnflanke | Verfahren |
| \(<\) 0,05 (0,10) mm | Feinbearbeitung duch Kaltwalzen, Wälzschaben, Wälzhohnen, Wälzläppen |
| 0,05 bis 0,5 (1,5) mm | Wälzschleifen, Profilschleifen, (Wälzhonen) |
| \(>\) 0,5 mm, Vorverzahnen | Urformen, Umformen, Spanen mit geometrisch bestimmter Schneide außer Wälzschaben, Wälz- und Profilschleifen in Sonderfällen |
| 3 Tabelle aus: Linke, H.: Stirnradverzahnung Berechnung Werkstoffe Fertigung, Carl
Hanser Verlag, München, Wien, 1996, S. 638
| |
Eine Herstellung von Werkstücken mit exakten Nennmaßen ist unmöglich. Abweichungen vom theoretischen Sollmaß müssen daher zugelassen werden. In vielen Anwendungsgebieten müssen Ritzel und Räder einer Paarung unabhängig voneinander gefertigt und ohne Anpassarbeit miteinander gepaart, d.h. auch einzeln ausgetauscht werden können. Neben der DIN 3961 für Verzahnungstoleranzen/Verzahnungsqualitäten stehen jetzt auch die DIN 58405 für die Feinwerktechnik sowie die ISO 1328 und die ANSI/AGMA 2015 zur Verfügung.

Die Qualität ist nach wirtschaftlichen Gesichtspunkten in Abhängigkeit vom Verwendungszweck und somit vom Fertigungsverfahren festzulegen. In den DIN-Verzahnungsnormen werden die qualitativen Grenzen für die einzelnen Abweichungen in 12 Verzahnungsqualitäten festgelegt und in der Reihenfolge der Genauigkeit von 12 bis 1 bezeichnet. Die Qualität 1 bezeichnet dabei die feinste Genauigkeit, die Qualität 12 die gröbste Genauigkeit. Die Verzahnungsqualitäten 1 bis 4 werden vorwiegend für Lehrzahnräder verwendet, die Klassen 5 bis 12 für Getrieberäder. Die folgende Abbildung zeigt einen Überblick über die Herstellungsverfahren in Abhängigkeit von der Qualität (Abbildung aus: Niemann, G.: Maschinenelemente, Bd. 2, Getriebe allgemein, Zahnradgetriebe-Grundlagen, Stirnradgetriebe, 1989, S. 73, Bild 21.4/1.).

Wählen Sie im Berechnungsmodul aus der Listbox eine Qualität zwischen 1 und 12 aus.

Die folgende Tabelle enthält Anhaltswerte für die Wahl der Verzahnungsqualität, der Toleranzklasse von Verzahnungen aus Metallen und Kunststoffen:
| Verzahnungen aus Metall4
| |||
| \(\nu \) | Bearbeitung | Qualität | Toleranzfeld |
| bis m/s | der Zahnflanken | (Genauigkeit) | DIN 3967 |
| 0,8 | gegossen, roh | 12 | 2x30 |
| 0,8 | geschruppt | 11 oder 10 | 29 oder 28 |
| 2 | schlichtgefräst | 9 | 27 |
| 4 | schlichtgefräst | 8 | 26 |
| 8 | feingeschlichtet | 7 | 25 |
| 12 | geschabt oder geschliffen | 6 | 24 |
| 20 | feingeschliffen | 5 | 23 |
| 40 | feinstbearbeitet | 4 oder 3 | 22 |
| 60 | feinstbearbeitet | 3 | 22 oder 21 |
| Verzahnungen aus spritzgegossenen Kunststoffen
| |||
| Anwendung | d in mm | Qualität | Toleranzfeld |
| (Genauigkeit) | DIN 3967 | ||
| Getriebe mit hohen Anforderungen | bis 10 | 9 | 27 |
| Getriebe mit hohen Anforderungen | 10 bis 50 | 10 | 28 |
| Getriebe mit normalen Anforderungen | 10 bis 50 | 11 | 29 |
| Getriebe mit geringen Anforderungen | bis 280 | 12 | 2 x 30 |
| Spanend hergestellte Verzahnungen aus Kunststoff
| |||
| Getriebe mit hohen Anforderungen | bis 10 | 8 | 25 bis 27 |
| Getriebe mit hohen Anforderungen | 10 bis 50 | 9 | 26 bis 28 |
| Getriebe mit normalen Anforderungen | bis 50 | 10 | 27,28 |
| Getriebe mit normalen Anforderungen | 50 bis 125 | 11 | 27,28 |
| Getriebe mit geringen Anforderungen | bis 280 | 12 | 28 |
| 4 Tabelle aus: Karl-Heinz Decker: Maschinenelemente: Gestaltung und Berechnung, 1992, S.
512, Tab.: 23.3
| |||
Für die Verzahnungstoleranzen/Verzahnungsqualitäten stehen auch DIN 58405 für die Feinwerktechnik
sowie die ISO 1328 und die ANSI/AGMA 2015 zur Verfügung. Bei ISO 1328 und ANSI/AGMA 2015 lassen sich
jeweils zwei Qualitäten auswählen. Die erste Qualität ist vergleichbar mit den nach DIN 3961
zulässigen Toleranzen, der zweite Wert beeinflusst die Zweiflanken-Wälzabweichung sowie die
Rundlaufabweichungen.
In dem DIN-Getriebe-Passsystem kennzeichnet man den Abstand des Toleranzfeldes vom Nennmaß mit einem Buchstaben, seine Breite mit einer Zahl. Bei Verzahnungen gibt es nur Spielpassungen, deshalb kommen nur die Buchstaben h bis a vor. Wählen Sie in der Listbox den Eintrag „eigene Eingabe“, dann wird das Eingabefeld für die Zahndickenabmaße freigeschaltet und Sie haben die Möglichkeit, individuelle Daten festzulegen. Weiterhin ist nun auch der Schloss-Button neben dem Eingabefeld für die Zahnweitenabmaße aktiv.

Infolge einer größeren Ausdehnung der Zahnräder als Wärmequelle gegenüber dem Gehäuse ist ohne elastische Elemente kein spielfreier Einbau möglich. Es müssen deshalb die Zahndickenabmaße so festgelegt werden, dass kein Klemmen der Zahnräder auftritt. Um dieses Klemmen der Zahnräder beim Betrieb zu vermeiden, müssen die Zähne um einen Mindestbetrag - das obere Zahndickenabmaß \(A_{sne}\) - dünner als die Nenn-Zahndicken sein. Die Verkleinerung der Zahndicken nennt man auch Zahndickenabmaß \(A_{sn}\).

Die Zähne von Außen- und Innenverzahnungen müssen negative Zahndickenabmaße aufweisen. So kann ein Flankenspiel erreicht werden. Die größte Zahndicke ist durch das obere Zahndickenabmaß \(A_{sne}\), die kleinste Zahndicke durch das untere Zahndickenabmaß \(A_{sni}\) begrenzt. Das Berechnungsmodul bietet Ihnen hier auch die Möglichkeit, Zahndickenabmaße beispielsweise aus gemessenen Werten oder vorgegebenen Prüfmaßen anzugeben. Klicken Sie dafür einfach auf den Taschenrechner-Button.

Ein neues Fenster öffnet sich.

Aktivieren Sie mit einem Häkchen das Ritzel und die Zahnstange, vervollständigen Sie die Eingabewerte und
klicken Sie auf den Button „OK“. Der Schloss-Button neben dem Eingabefeld für die Zahnweitenabmaße
wird freigegeben. Darüber können Sie bei Bedarf optional zu den Zahndickenabmaßen auch die
Zahnweitenabmaße beeinflussen. Bei Innenverzahnungen ist zu beachten, dass die Werte für
Messzähnezahl, Zahnweitenmaße und Rollen- bzw. Kugelmaße stets negativ sind.
Das Zahnweitenabmaß \(A_{W}\) ist der Unterschied zwischen dem Ist- und Nennmaß der Zahnweite \(W{_k}\). Das Istmaß der Zahnweite wird bei Außenräder durch negative Abmaße kleiner als das Nennmaß für den spielfreien Eingriff. Wie auch bei dem Zahndickenabmaß gibt es hier ein oberes und ein unteres Zahnweitenabmaß, die mit \(A_{We}\) und \(A_{Wi}\) definiert sind. Bei einer eigenen Eingabe der Zahndickenabmaße können optional die Zahnweitenabmaße vorgegeben werden. Bei dieser eigenen Eingabe wird der Schloss-Button neben dem Eingabefeld für die Zahnweitenabmaße aktiviert. Diese können somit geändert werden.

Die Zahndicke ist ein Bogenstück und kann nicht direkt gemessen werden. Deshalb werden unterschiedliche Messverfahren genutzt. Die Zahndicke kann so auf verschiedene Weise gemessen werden:
Im Folgenden erhalten Sie nähere Informationen zu den häufig verwendeten flankenbezogenen Prüfgrößen:
Die Zahnweite \(W_{k}\) ist das Maß, dass sich zwischen zwei parallelen Ebenen ergibt, die je eine rechte und linke Flanke über mehrere Zähne \(k\) hinweg berühren. Bei Stirnrädern wird die Zahndicke am häufigsten mit Hilfe der Zahnweite gemessen. Die Zahndicke kann durch manuelle Geräte sehr einfach erfasst werden. Der Vorteil dabei ist auch, dass das Passmaß bereits während einer Serienfertigung beeinflusst werden kann.

Das Berechnungsmodul gibt Ihnen die Messzähnezahl, also die Anzahl der Zähne, über die die Zahnweite zu messen ist, vor. Über den Schloss-Button können Sie das Eingabefeld freischalten und einen eigenen Wert für die Messzähnezahl angeben. Klicken Sie erneut auf den Button, wird der ursprüngliche Wert wieder eingesetzt.

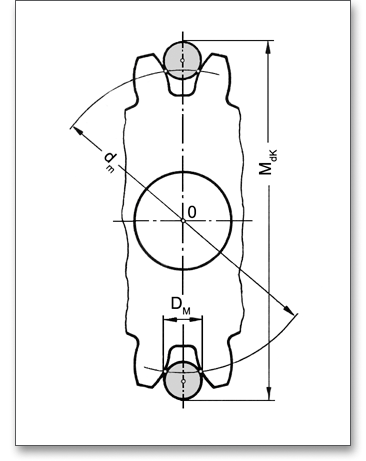
Das diametrale Prüfmaß \(M_{d}\) ist bei einem Außenrad das größte äußere Maß. Dieses Maß wird über zwei Messkörper gemessen. Die Messkörper sind dabei Kugeln (Diametrales Zweikugelmaß \(M_{dK}\)) oder Rollen (Diametrales Zweirollenmaß \(M_{dR}\)), die in gegenüberliegende Zahnlücken gelegt werden. Die Prüfung mit Hilfe der Messkörper stellt eine sehr genaue Prüfmethode dar. Das Zweirollenmaß ist nur bei Geradverzahnungen und außenverzahnten Schrägzahnrädern anwendbar. Bei den diametralen Prüfmaßen unterscheidet man:
Das diametrale Zweikugelmaß \(M_{dK}\) ist bei einem Außenrad das größte äußere Maß. Dieses wird über die zwei Kugeln gemessen, die in die am weitesten voneinander entfernten Zahnlücken gelegt werden. Beide Kugeln müssen sich in der gleichen Ebene senkrecht zur Radachse befinden. Bei einem Hohlrad (siehe Abbildung: „geradverzahntes Hohlrad mit ungerader Zähnezahl“) ist das diametrale Zweikugelmaß das kleinste innere Maß zwischen zwei Kugeln. Der Durchmesser der Kugeln bzw. Rollen wird jeweils definiert mit \(D_{M}\).
|
| Diametrales Zweikugelmaß: Geradverzahntes Außenrad mit gerader Zähnezahl |
|
| Diametrales Zweikugelmaß: Geradverzahntes Außenrad mit ungerader Zähnezahl |
|
| Diametrales Zweikugelmaß: Geradverzahntes Hohlrad mit ungerader Zähnezahl |
Auch für die diametralen Prüfmaße gibt das Berechnungsmodul Ihnen den Kugeldurchmesser bereits vor. Über den Schloss-Button können Sie das Eingabefeld freischalten und einen eigenen Wert für den Kugel- bzw. Rollendurchmesser angeben. Klicken Sie erneut auf den Button, wird der ursprüngliche Wert wieder eingesetzt.

Hinweis: Alle Ergebnisse aus der Zahndicken-Sehnen-Messung, der Zahnweitenmessung sowie die
diametralen Prüfmaße finden Sie im Berechnungsprotokoll unter „Prüfmaße“.
Um ein Klemmen der Räder zu vermeiden, muss zwischen den Flanken stets ein Spiel vorhanden sein. Wesentliche Einflussgrößen auf das Flankenspiel sind der Achsabstand und die Passgrößen der Verzahnung. Das Getriebe-Passsystem definiert die Abweichungen des Achsabstandes mit dem Flankenspiel. In dem Passsystem der DIN wird nur ein Toleranzfeld des Achsabstandes angewendet. Beim Achsabstand werden die Abmaße für das JS-Feld angegeben. Diese entsprechen genau den ISO-Grundtoleranzen. Die Flankenspiele sind abhängig vom Zahndickenabmaß, Zahnweitenabmaß und Achsabstand. Mit der Änderung des Achsabstandes ändert sich dann auch das jeweilige Flankenspiel.

Wählen Sie in der Listbox die Option „Eigene Eingabe“, dann haben Sie die Möglichkeit, eigene Achsabstandsabmaße festzulegen. Bestätigen Sie Ihre Eingaben mit der Enter-Taste. Die Flankenspiele werden dann automatisch berechnet.
Das Achsabstandsmaß \(A_{a}\) ist die zulässige Abweichung des Achsabstandes \(a\) im Getriebe vom Nennmaß des Achsabstandes. Die Abmaße sind mit \(\pm \) angegeben, um bei Getrieben mit mehreren Achsen keine unzulässig großen Abweichungen von den Nennmaßen der Achsabstände zu erhalten.

Eine Zahnradpassung muss so ausgelegt werden, dass sich zwei Zahnräder paaren lassen. Dabei muss ein definiertes für den Lauf erforderliches und günstiges Flankenspiel sichergestellt werden. Da Getriebe nicht frei von Abweichungen hergestellt werden können, muss zwischen den Flanken stets Spiel vorhanden sein, um ein Klemmen der Zahnräder zu vermeiden. Bei den Flankenspielen unterscheidet man zwischen Normal-, Verdrehflankenspiel sowie Radialspiel.

Die Größe des Flankenspiels hängt, von Verzahnungsfehlern abgesehen, von der Zahndicke und vom
Achsabstand der Räder ab. Das DIN-System geht von einem konstanten Achsabstand aus und schafft die
verschiedenen Flankenspiele durch eine Änderung der Zahndicke. Das Flankenspiel zwischen den
Evolventenflanken gleicht Abweichungen der Zahndicken, des Achsabstandes, der Zahnform usw. aus. Dieses
wird nachträglich durch die Zahndicken- bzw. Zahnweitenabmaße verwirklicht. Das Flankenspiel ist am
größten beim untersten Zahndickenabmaß \(A_{sni}\) und am kleinsten beim oberen Zahndickenabmaß \(A_{sne}\). Neben
Zahndicken- und Achsabstandsabmaß wird das Flankenspiel auch durch die Fehler der Teilung und der
Flankenform beeinflusst.
Hinweis: Das Flankenspiel hängt auch von Erwärmung, Verformung der Getriebeelemente und Verlagerung
der Gehäuse ab. Diese Einflüsse müssen also zusätzlich bei der Festlegung der Zahndickenabmaße
berücksichtigt werden.
Das Verdrehflankenspiel \(j_{t}\) ist das auf den Wälzkreis bezogende Spiel. Das Verdrehflankenspiel ist die Länge des Wälzkreisbogens, um den sich ein Rad gegenüber dem anderen Rad verdrehen lässt.

Das Radialspiel ist die Differenz des Achsabstandes zwischen dem Betriebszustand und dem Zustand des spielfreien Eingriffes. Das Radialspiel \(j_{r}\) ist bei sehr kleinen Moduln (m \(<\) 0,6 mm) von Bedeutung.

Ein besonderes Highlight des Berechnungsmoduls ist die Darstellung der exakt berechneten Zahnform mit
Animation / Simulation des Zahneingriffs. Für diese Darstellung können die kleinsten, mittleren und größten
Abmaße für die Zahndicken und den Achsabstand gewählt werden.
Wenn Sie die Geometrie für die Zahnstange definieren, können Sie sich die dazugehörige Zahnform detailliert jederzeit über den Button „Zahnform“ ansehen. Über die einzelnen Button, wie zum Beispiel „Geometrie“ oder „Werkzeug“, gelangen Sie wieder in die entsprechenden Hauptmasken.

Hinweis: Bitte beachten Sie, dass die Daten in der Zahnform in die spätere DXF-Ausgabe und in die CAD-Erzeugung übernommen werden. Wenn Sie zum Beispiel in der Zahnform das Zahndickenabmaß oder das Achsabstandsabmaß verändern, so wird jeweils die letzte Einstellung, die Sie an der Zahnform vornehmen, in die DXF-Ausgabe oder die eAssistant CAD-PlugIns übertragen. Alle weiteren Informationen zum 2D-DXF-Format und zu den einzelnen CAD-PlugIns erhalten Sie in dem Kapitel 7.15 „Button CAD“.

Geben Sie hier für die Drehung der Zahnstange einen Drehwinkel ein.

|
| Drehung des antreibenden Rades entgegen dem Uhrzeigersinn |
|
| Drehung des antreibenden Rades im Uhrzeigersinn |
Klicken Sie auf einen der beiden Pfeile, erfolgt eine kontinuierliche Drehung des antreibenden Rades.

|
| Kontinuierliche Drehung des antreibenden Rades entgegen dem Uhrzeigersinn |
|
| Kontinuierliche Drehung des antreibenden Rades im Uhrzeigersinn |
|
| Die Drehung wird gestoppt. |
Klicken Sie auf den Button „Ausschnitt“, um sich den Zahneingriff im Detail anzusehen. Sie haben jetzt die Möglichkeit, das bereits in der Hauptmaske „Abmaße“ angegebene Zahndickenabmaß hier innerhalb der Toleranzgrenzen zu verändern. Diese Veränderungen werden Ihnen sofort in dem Darstellungsfenster angezeigt. Für die Darstellung des Zahneingriffs können die unteren, mittleren und oberen Abmaße für die Zahndicke für Ritzel und Zahnstange gewählt werden.

Die beiden Pfeile kennzeichnen das untere und das obere Abmaß. Bei der jeweils aktiven Eingabe wird der Pfeil grau hinterlegt. Klicken Sie auf den linken Pfeil, erhalten Sie die Darstellung mit dem unteren Zahndickenabmaß. Der rechte Pfeil liefert Ihnen die Ansicht mit dem oberen Zahndickenabmaß. Der mittlere Button zeigt Ihnen im Darstellungsfenster das mittlere Zahndickenabmaß an. Die Zahndickenabmaße können auch individuell innerhalb der Grenzen, also zwischen dem oberen und unterem Abmaß, eingegeben werden.

Hinweis: Wenn Sie in der Eingabemaske „Abmaße“ die unteren und oberen Zahndickenabmaße für Ritzel
und Zahnstange über das Taschenrechner-Symbol individuell festgelegt haben, dann erscheinen die manuell
definierten Werte hier als unteres und oberes Zahndickenabmaß.
Klicken Sie auf den Button „Ausschnitt“, um den detaillierten Zahneingriff darzustellen. Jetzt besteht die Möglichkeit, das bereits in der Hauptmaske „Geometrie“ angegebene Kopfkreisabmaß für Ritzel und Zahnstange innerhalb der Toleranzgrenzen zu verändern. Diese Veränderungen werden Ihnen sofort in dem Darstellungsfenster angezeigt. Für die Darstellung des Zahneingriffs können jeweils die unteren, mittleren und oberen Abmaße für Ritzel und Zahnstange gewählt werden.

Die beiden Pfeile kennzeichnen das untere und das obere Abmaß. Bei der jeweils aktiven Eingabe wird der Pfeil grau hinterlegt. Klicken Sie auf den linken Pfeil, erhalten Sie die Darstellung mit dem unteren Kopfkreisabmaß. Der rechte Pfeil liefert Ihnen die Ansicht mit dem oberen Kopfkreisabmaß. Der mittlere Button zeigt Ihnen im Darstellungsfenster das mittlere Kopfkreisabmaß an. Die Kopfkreisabmaße können auch individuell innerhalb der Grenzen, also zwischen dem oberen und unterem Abmaß, eingegeben werden.

Hinweis: Wenn Sie in der Eingabemaske „Geometrie“ die unteren und oberen Kopfkreisabmaße für Ritzel
und Zahnstange über das Schloss-Symbol individuell festgelegt haben, dann erscheinen die manuell
definierten Werte hier als unteres und oberes Kopfkreisabmaß.
Klicken Sie auf den Button „Ausschnitt“, um den detaillierten Zahneingriff darzustellen. Sie haben jetzt die Möglichkeit, das bereits in der Hauptmaske „Abmaße“ angegebene Achsabstandsabmaß für die Paarung innerhalb der Toleranzgrenzen zu verändern. Diese Veränderungen werden Ihnen sofort in dem Darstellungsfenster angezeigt. So können Sie den Lauf der Räder mit den unterschiedlichen Achsabständen anschaulich untersuchen.
Für die Darstellung des Zahneingriffs können jeweils die unteren, mittleren und oberen Abmaße für die Paarung gewählt werden.

Die beiden Pfeile kennzeichnen das untere und das obere Abmaß. Bei der jeweils aktiven Eingabe wird der Pfeil grau hinterlegt. Klicken Sie auf den linken Pfeil, erhalten Sie die Darstellung mit dem unteren Achsabstandsabmaß. Der rechte Pfeil liefert Ihnen die Ansicht mit dem oberen Achsabstandsabmaß. Der mittlere Button zeigt Ihnen im Darstellungsfenster das mittlere Achsabstandsabmaß an. Das Achsabstandsabmaß kann auch individuell innerhalb der Grenzen, also zwischen dem oberen und unterem Abmaß, eingegeben werden.

Hinweis: Wenn Sie in der Eingabemaske „Abmaße“ den unteren und oberen Achsabstand für die Paarung
über den Eintrag „eigene Eingabe“ aus der Listbox „Toleranzfeld für Achsabstand“ individuell festgelegt
haben, dann erscheinen die manuell definierten Werte hier als unteres und oberes Achsabstandsabmaß.
Die Lebensdauer von Verzahnungen wird durch die Schadensfälle Zahnbruch, Grübchenbildung und Fressen begrenzt. Die jeweiligen Festigkeiten sind dabei durch die Beanspruchung, die Geometrie der Verzahnung sowie durch die gewählten Werkstoffe bestimmt. Bei der Berechnung der Tragfähigkeit geht es stets um den Nachweis der folgenden Festigkeitsfaktoren, die sich aus den genannten Schadensfällen ergeben:
Die Zahnfußtragfähigkeit ist die durch die zulässige Zahnfußbeanspruchung bestimmte Tragfähigkeit.
Ein Zahnbruch kann zum Beispiel aus einer Schleifkerbe resultieren. Wird die Beanspruchung
überschritten, brechen die Zähne meist am Zahnfuß aus. Ein Zahnbruch zerstört die gesamte
Verzahnung und führt somit zum Ausfall eines Getriebes. Laut DIN 3990 ist nach einem Zahnbruch ein
Betrieb mit verringerter Belastung möglich, wenn nur ein kleiner Teil eines oder mehrerer Zähne
ausgebrochen ist und die übrigen Teile der Verzahnung unbeschädigt sind. Zahnbruch ist ein
Ermüdungsschaden.
Günstig sind: positive Profilverschiebung (bei kleinen Zähnezahlen), Verwendung vergüteter oder
gehärteter Werkstoffe mit höherer Zahnfußfestigkeit, größere Zahnfußausrundung, größerer
Modul
Die Grübchentragfähigkeit ist die durch die zulässige Flankenpressung bestimmte Tragfähigkeit.
Grübchenbildung ist ein Ermüdungsschaden und tritt hauptsächlich auf der Fußflanke auf. Bei einer
Grübchenbildung entstehen an der Oberfläche feine Risse, in die Öl eindringt. Beim Überrollen werden die
Öffnungen verschlossen und Materialteilchen herausgesprengt. Die Vertiefungen, die sich dadurch bilden,
werden auch Grübchen (bzw. Pitting) genannt. Diese Ausbröckelungen sind erst dann unzulässig, wenn die
Anzahl der Grübchen zunimmt oder die Grübchen größer werden. Grübchenfestigkeit ist ebenfalls ein
Ermüdungsschaden.
Günstig sind: große Zähnezahl, positive Profilverschiebung (bei kleinen Zähnezahlen), größere Eingriffswinkel, hohe Flankenhärte, Nitrierhärten, zäheres Öl

Durch Mangel an Schmierstoff oder durch ein Zusammenbrechen des Schmierfilms können zwischen den Zahnflanken Verschleißerscheinungen auftreten. Diese Schadensform wird „Fressen“ genannt. Besonders bei mechanisch und thermisch hochbelasteten Verzahnungen tritt das Problem des Fressens auf. Infolge des Fressens steigen bei schnelllaufenden Getrieben die Temperatur, die Zahnkräfte sowie die Geräusche so stark an, dass der Schmierfilm zwischen den Zahnflanken abreißt. Die metallischen Flächen reiben aufeinander und es kommt zu kurzzeitigen örtlichen Verschweißungen der Flanken. Schließlich kommt es wegen der starken Flankenschäden zum Zahnbruch. Im Gegensatz zum Zahnbruch und zur Grübchenbildung ist das Fressen kein Ermüdungsschaden. Fressen kann ganz plötzlich auftreten. Bereits eine einzige kurze Überlastung kann zu einem Fressschaden führen und somit zum Ausfall der Zahnräder. Die Gefahr des Auftretens von Fressschäden wird beeinflusst von:
Nach dem Auftreten eines Fressschadens neigen schnelllaufende Getriebe zu hohen dynamischen Zusatzkräften, die als Folge von Fressen gewöhnlich Grübchenbildung oder Zahnbruch verursachen. Die hohen Oberflächentemperaturen führen zum Zusammenbrechen des Schmierfilms. Fressen wird begünstigt durch:
Günstig sind: EP-Öle (Öle mit chemisch aktiven Zusätzen), sorgfältiges Einlaufen der Verzahnung, geringe
Gleitgeschwindigkeit durch Zahnkopfkürzung oder kleineren Modul
Hinweis: Beim Fressen wird zwischen Kaltfressen und Warmfressen unterschieden. Beide Schadensformen
gehen auf ein Versagen der Zahnflanken zurück. Das Kaltfressen wird relativ selten beobachtet. Deshalb
beziehen sich die weiteren Ausführungen und Informationen lediglich auf das Warmfressen.
Für die Festigkeitsberechung stehen die Methoden DIN 3990 Methode B, ISO 6336 Methode B sowie
ANSI/AGMA 2101-D04 zur Auswahl. Zunächst erhalten Sie Informationen zur DIN 3990 Methode B,
anschließend folgen Erläuterungen zur ISO 6336 Methode B. Mit dem Modul können Sie die Zahnfuß-,
Zahnflanken- sowie die Fresstragfähigkeit schnell und einfach überprüfen. Bei der Fresstragfähigkeit werden
die Sicherheiten bezüglich des Integral- und Blitztemperatur-Kriteriums berechnet. Berücksichtigt
werden die Materialeigenschaften, die Lebensdauer, Lastkollektive nach ISO 6336 Teil 6 sowie die
Schmierungsart und der entsprechend gewählte Schmierstoff. Die erweiterten Eingabeoptionen bieten
die Möglichkeit, die Anzahl der Lastwechsel sowie die Rautiefe zu beeinflussen. Schleifkerben
können in die Berechnung mit einbezogen werden, die Betriebsart wird über den Betriebsartenfaktor
gewählt.
Wenn Sie auf den Button „Tragfähigkeit“ klicken, dann gelangen Sie in den Berechnungsbereich für die Tragfähigkeit. Sie werden bemerken, dass zunächst alle Eingabe- oder Auswahlfelder deaktiviert sind. Sobald Sie in der Listbox „Rechenmethode“ „DIN 3990 Methode B“, „ISO 6336 Methode B“ oder „ANSI/AGMA 2101-D04“ auswählen, werden alle Eingabefelder aktiviert. Für den Fall, dass Sie die Tragfähigkeitsberechnung nicht benötigen, kann diese somit „ausgeschaltet“ werden. Dadurch verringert sich der Umfang des Berechnungsprotokolls.

Ergänzen Sie in der Kommentarzeile eine kurze Notiz oder eine Anmerkung für Ritzel und Zahnstange. Die Bemerkung erscheint später im Protokoll im Bereich der Tragfähigkeit.

Wählen Sie hier den entsprechenden Werkstoff direkt aus der Listbox oder klicken Sie auf den Button „Werkstoff“ über den Sie anschließend in die Werkstoffdatenbank gelangen.

In der Werkstoffdatenbank erhalten Sie detaillierte Informationen zu den einzelnen Werkstoffen. Klicken Sie sich mit Hilfe der Cursor-Taste nach unten durch die Listbox. Somit lassen sich die einzelnen Werkstoffe anhand ihrer Eigenschaften schnell miteinander vergleichen.

Für die Herstellung von Zahnrädern werden vorwiegend Stähle eingesetzt. Für Ritzel und Rad kann der
gleiche Vergütungsstahl eingesetzt werden. Bei der Werkstoffauswahl ist zu beachten, dass ungehärtete
Räder gleicher Härte nicht gepaart werden sollten, da hierbei große Neigung zum Fressen der Flanken
besteht. Ein gehärtetes oder nitriertes Rad \(HRC > 50\) glättet die Zahnflanken eines vergüteten Gegenrades, baut
dessen Formabweichungen ab und erhöht dadurch die Grübchentragfähigkeit. Bei einer Paarung gehärteter
Räder sind keine Härteunterschiede erforderlich. Vergüten und Härten unterscheiden sich zum einen durch
das Anlassen auf hohe Temperaturen. Beim Vergüten liegen diese Temperaturen zwischen 400 bis 700°C,
während nach dem Härten nur auf geringe Temperatur angelassen wird. Zum anderen erfolgt eine
Unterscheidung durch den Werkstoff, der beim Härten Stahl mit über 0,6 bis 0,7% Kohlenstoff ist, beim
Vergüten Stahl mit meist weniger als 0,6%. Es gibt jedoch keine starke Grenze zwischen Härten und
Vergüten.
Einsatzstahl: Hier handelt es sich um Qualitäts- und Edelstähle mit einem niedrigen Kohlenstoffgehalt. Sie
werden im Bereich der Randzone aufgekohlt, gegebenenfalls gleichzeitig aufgestickt und anschließend
gehärtet. Der Stahl hat nach dem Härten in der Randschicht eine hohe Härte und einen guten
Verschleißwiderstand, während der Kernwerkstoff vor allem eine hohe Zähigkeit aufweist.
Vergütungsstahl: Die entsprechenden Eigenschaften werden hier durch eine geeignete Wärmebehandlung
erreicht. Dies kann in Form einer Vergütung erfolgen. Vergüten bedeutet eine Wärmebehandlung von Stahl
durch Abschrecken aus Härtetemperatur und Anlassen auf so hohe Temperatur, dass die Zähigkeit wesentlich
gesteigert wird. Gleichzeitig wird eine höhere Elastizitätsgrenze erreicht. Die Anlasstemperaturen liegen
zwischen 400 bis 700°C. Manche Stähle müssen nach dem Anlassen schnell abgekühlt werden (Anlassen:
Um notwendige Eigenschaften der Werkstücke, wie zum Beispiel gewünschte Festigkeit oder
Zähigkeit, zu erlangen, ist ein erneutes Erwärmen der Werkstücke auf bestimmte Temperaturen
notwendig.).
Stahl: Stahl wird am meisten für mittel- und hoch beanspruchte Zahnräder verwendet.
Stahlguss: Unter Stahlguss versteht man Eisenwerkstoffe mit C-Gehalten bis max. 2%, die in Formen aus Sand
zu Konstruktionsteilen vergossen werden. Infolge der höheren Schmelztemperatur ist Stahlguss gegenüber
Gusseisen schwer vergießbar. Stahlguss ist kostengünstiger als gewalzte oder geschmiedete
Räder.
Nitrierstahl: Bei diesem Stahl handelt es sich um Vergütungsstahl, der mit Cr, Mo und Ni legiert
ist.
Schwarzer Temperguss (perlitisches Gefüge): Teile mit komplizierter Form, die hohe Zähigkeit,
Schlagfestigkeit und gute Bearbeitung besitzen müssen, werden aus Temperguss hergestellt. Temperguss ist
für kleinere Abmessungen geeignet und besitzt gegenüber Stahlguss eine höhere Festig- und
Zähigkeit.
Gusseisen Kugelgraphit (perlitisches Gefüge, bainitisches Gefüge, ferritisches Gefüge): Unter Gusseisen
versteht man alle Eisen-Werkstoffe mit mehr als 2% C. Der maximale C-Gehalt liegt jedoch selten höher als
4.5%. Gusseisen ist ein sehr kostengünstiger Konstruktionswerkstoff, dessen Zähigkeit und Verformbarkeit
jedoch deutlich geringer sind als beispielsweise bei Stahl. Gusseisen mit Kugelgraphit ist für Teile mit höheren
Schwingbeanspruchungen geeignet.
Grauguss: Grauguss ist für komplizierte Radformen geeignet und dabei kostengünstig, leicht zerspanbar und geräuschdämpfend. Die Tragfähigkeit ist gering.
Hinweis: Wenn Sie die Option „Eigene Eingabe“ auswählen, werden alle Eingabe- und Auswahlmöglichkeiten aktiviert und Sie können Ihren individuellen Werkstoff anlegen. Ihre Eingaben werden beim Speichern in die Berechnungsdatei mitgespeichert. Wählen Sie allerdings im Modul einen anderen Werkstoff aus der Listbox aus, gehen Ihre definierten Angaben verloren. Diese müssen Sie anschließend erneut eingeben.

Aus der Listbox lassen sich die hochreinen Stähle 159X und 159Q von Ovako auswählen. Beide Stähle basieren auf dem Einsatzstahl 18CrNiMo7-6. Aufgrund deutlich geringerer Verunreinigungen weisen diese Stähle modifizierte Wöhlerkurven auf. D.h., im statischen Bereich sind beide Stähle vergleichbar mit dem 18CrNiMo7-6. Im Dauerfestigkeitsbereich bietet 159Q jedoch eine um ca. 30% höhere Leistungsfähigkeit für die Flankentragfähigkeit und um 60% höhere Festigkeit für die Zahnfußtragfähigkeit. Diese höheren Dauerfestigkeitswerte basieren auf internen Untersuchungen der Firma Ovako und wurden mit Untersuchungen am WZL in Aachen sowie am FZG in München bestätigt.

Der Stahl 159X weist eine etwas kleinere Leistungssteigerung gegenüber dem 18CrNiMo7-6 auf und eignet sich damit u.a. gut bei notwendiger Verbesserung bereits bestehender Konstruktionen. Das Potential des 159Q lässt sich besonders bei Neuauslegungen nutzen. Dabei kann es von Vorteil sein, den Fokus mit auf eine optimierte Fresstragfähigkeit zu legen. Diese lässt sich durch Vergrößerung der Zähnezahlen und gleichzeitiger Verkleinerung des Moduls erzielen. Dadurch ergeben sich in der Regel bessere Verzahnungswirkungsgrade und somit geringere Verlustleistungen. Diese Ovako-Stähle eröffnen komplett neue Möglichkeiten für Getriebe und besitzen ein hohes Potential zur weiteren Leistungssteigerung von Zahnradgetrieben und Verzahnungskomponenten.

Die Berechnung der Lastkollektive erfolgt nach DIN ISO 3990 Teil 6. Die Methode basiert auf der Palmgren-Miner-Regel. Für jeden einzelnen Lastfall werden die lastabhängigen K-Faktoren berechnet. Die Sicherheiten werden solange iteriert, bis sich die vorgeschriebene Schadenssumme bzw. der Schadenssummenbereich ergibt. Dieses Verfahren ist sehr genau und wird zum Beispiel in der Windkraftindustrie gefordert. Die Palmgren-Miner-Regel ist eine einfache lineare Schadenakkumulationstheorie. Diese Theorie geht davon aus, dass jede Belastungsstufe, die höher als die Dauerfestigkeit ist, zur Schädigung des Bauteils beiträgt.

Klicken Sie auf den Button „Lastkollektiv“. Nach Aktivieren der Checkbox „Lastkollektiv verwenden“, lässt sich eine beliebige Anzahl an Lastkollektiven mit Häufigkeit, Moment und Drehzahl definieren. Die Lastkollektive werden dabei entweder direkt eingegeben oder lassen sich über eine Datei einlesen. Lastkollektive können gespeichert und geladen werden. Dazu nutzen Sie jeweils die beiden Buttons „Öffnen“ und „Speichern“.

Die von außen auf ein Getriebe einwirkenden dynamischen Zusatzkräfte werden durch den Anwendungsfaktor \(K_{A}\)bestimmt. Diese Zusatzkräfte sind abhängig von den Eigenschaften der treibenden und der getriebenen Maschine, den Kupplungen, den Massen- sowie den Betriebsverhältnissen. Da Fressen kein Ermüdungsschaden ist, soll der Anwendungsfaktor bei der Fresstragfähigkeitsberechnung den stärkeren Einfluss einzelner hoher Lastspitzen berücksichtigen. Einzelne Lastspitzen beeinflussen direkt nur die Flankentemperatur. Deshalb kann für die Berechnung der Fresstragfähigkeit der gleiche Anwendungsfaktor \(K_{A}\) wie für die Grübchen- und Zahnfußtragfähigkeit verwendet werden.
| Anwendungsfaktoren \(K_{A}\) nach DIN 3990-1: 1987-125
| ||||
| Arbeitsweise der | Arbeitsweise der getriebenen Maschine
| |||
| Antriebsmaschine | gleichmäßig | mäßige Stöße | mittlere Stöße | starke Stöße |
| (uniform) | (moderate) | (heavy) | ||
| gleichmäßig (uniform) | 1,0 | 1,25 | 1,5 | 1,75 |
| leichte Stöße | 1,1 | 1,35 | 1,6 | 1,85 |
| mäßige Stöße (moderate) | 1,25 | 1,5 | 1,75 | 2,0 |
| starke Stöße (heavy) | 1,5 | 1,75 | 2,0 | 2,25 oder höher |
| 5 Tabelle aus: DIN 3990 Teil 1, Dezember 1987, S. 55, Tab.: A1
| ||||
Hinweis: Neben dem Eingabefeld für den Anwendungsfaktor finden Sie einen Fragezeichen-Button. Klicken Sie dort, öffnet sich die obenstehende Tabelle. Einen solchen Fragezeichen-Button werden Sie noch häufiger neben verschiedenen Eingabefeldern finden.

Infolge von Herstellungsungenauigkeiten und elastischen Verformungen verteilt sich die Last nicht gleichmäßig über die Zahnbreite. Die Auswirkungen der ungleichmäßigen Lastverteilung berücksichtigen die Breitenfaktoren \(K_{H\beta }\) bei Flankenpressung, \(K_{F\beta }\) bei Fußbeanspruchung und \(K_{B\beta }\) bei Fressen. Der Breitenfaktor wird nach DIN 3990 Teil 1 Methode B berechnet.

Starten Sie das Modul, dann ist der Wert „1.25“ standardmäßig im Eingabefeld eingetragen. Für den Fall, dass Sie bereits mit einem festgelegten Breitenfaktor arbeiten, können Sie diesen als Standard-Vorlage abspeichern. Somit öffnet sich das Berechnungsmodul dann mit Ihrem vorher definierten Breitenfaktor. Wenn Sie auf den Taschenrechner-Button klicken, dann öffnet sich die Eingabemaske zur Berechnung des Breitenfaktors. In dem obersten Eingabefeld „Breitenfaktor“ finden Sie den Standardwert von „1.25“ wieder. Ihnen wird dabei auffallen, dass die darunterliegenden Eingabe- oder Auswahlfelder noch deaktiviert sind. In diesem Fall können Sie nur Ihren Eingabewert durch den Button „Übernahme“ in die Hauptmaske übernehmen. Neben dem Eingabefeld für den Breitenfaktor befindet sich eine Listbox. Öffnen Sie die Listbox, erscheint dort der Eintrag „DIN 3990 T1 Methode B“.

Sobald Sie diesen Eintrag aus der Listbox auswählen, werden die restlichen Eingabe- und Auswahlfelder
aktiviert. Der Breitenfaktor wird automatisch berechnet, kann jedoch noch nicht in die Hauptmaske
übernommen werden. Damit der errechnete Wert auch übernommen werden kann, müssen Sie aus der
Maske für den Breitenfaktor noch weitere Eingaben ergänzen. Ist der Button „Übernahme“ aktiviert, kann der
errechnete Breitenfaktor auch übernommen werden.
Hinweis: Dennoch gibt es eine Möglichkeit, den bereits nach DIN errechneten Wert in die Hauptmaske zu übernehmen, ohne jedoch die erweiterten Einstellungen zu verändern. Wenn Sie in der Hauptmaske auf den Taschenrechner-Button neben dem Breitenfaktor klicken, öffnet sich die bereits oben erwähnte Eingabemaske. Der Breitenfaktor \(K_{H\beta }\) erscheint im Eingabefeld. Öffnen Sie die nebenstehende Listbox und wählen Sie „DIN 3990 T1 Methode B“ aus. Der Breitenfaktor wird errechnet. Der Button „Übernahme“ ist jetzt noch deaktiviert.

Öffnen Sie die Listbox erneut und wählen Sie aber jetzt den Eintrag „Benutzerdefiniert“ aus. Nun ist der Button „Übernahme“ aktiviert und der Breitenfaktor kann übernommen werden.

Der Verlauf der Zähne wird nach dem Verlauf ihrer Flankenlinien gekennzeichnet. Unter einer Flankenlinie versteht man die Schnittstelle der Zahnflanke mit einem Zylinder beim Stirnrad bzw. Kegel beim Kegelrad, dessen Achse mit der Radachse zusammenfällt.

Die Flankenlinienabweichung \(F_{\beta x}\) berücksichtigt sämtliche Einflüsse von Herstellung, Montage und Verformung, die sich gegenseitig verstärken oder ausgleichen können. Die Flankenlinienabweichungen werden nach DIN 3990 Teil 1 Methode C ermittelt. Bei dieser Methode werden die Anteile der Flankenlinienabweichung berücksichtigt, die durch Verformung von Ritzel und Ritzelwelle sowie durch die Herstellabweichung verursacht werden. \(F_{\beta x}\) setzt sich daher aus \(f_{sh}\) sowie aus \(f_{ma}\) zusammen. \(f_{sh}\) ist die Flankenabweichung infolge von Biegung und Verdrehung von Ritzel- und Ritzelwelle, also eine Flankenlinienabweichung durch Verformung. Die herstellungsbedingte Flankenlinienabweichung \(f_{ma}\) ist von der Verzahnungsqualität und der Radbreite abhängig.

Hinweis: Wählen Sie in der Listbox für den Breitenfaktor den Eintrag DIN 3990 Methode B aus, erfolgt dadurch automatisch die Berechnung des Breitenfaktors nach der DIN. Die Auswahl- und Eingabefelder werden aktiviert. Für die Flankenlinienabweichung lassen sich benutzerdefinierte Eingaben spezifizieren.

Tragbild - Eine Zahnflanke wird beim Abwälzen nicht in allen Punkten ihres aktiven Bereiches von den Gegenflanken berührt. Das Tragbild bezeichnet den Bereich, in welchem die Berührung stattfindet. Unter Betriebsbedingungen soll eine gleichmäßige Lastverteilung über die Zahnbreite- und höhe erreicht werden. Bei steifen Getrieben kann man hilfsweise Größe und Lage des Kontakttragbildes im gering belasteten Getriebe zur Beurteilung heranziehen. Unter geringer Belastung kann mit Hilfe des Kontakttragbildes beurteilt werden, wie sich die Fertigungsabweichungen der Rad- und Getriebeelemente (Flankenabweichungen von Ritzel und Rad) gemeinsam beeinflussen. Bei dem Kontakttragbild wird auf vier bis sechs Flanken vom Ritzel eine dünne Schicht Tragbildpaste aufgetragen. Anschließend wird das Radpaar so lange durchgedreht bis alle Flanken des Rades ein Tragbild zeigen und dabei so belastet, dass die Zahnflanken während des Eingriffs sicher anliegen. Zur Unterstützung erhalten Sie über den Fragezeichen-Button die Ansicht der einzelnen Tragbilder nach DIN 3990 Teil 1.



Durch gezielte Abweichungen von der Evolvente (Zahnhöhenrichtung) und von der theoretischen Flankenlinie (Breitenrichtung) können die Auswirkungen von Herstellungsfehlern und elastischen Verformungen auf die Tragfähigkeit ausgeglichen werden. Breitenballigkeit und Endrücknahme gehören zu den wichtigsten Flankenkorrekturen und wirken sich günstig auf die Lastverteilung über der Zahnbreite aus. Durch Breitenballigkeit oder Endrücknahme kann eine schiefe Lastverteilung abgebaut werden. Das Berechnungsmodul erlaubt Ihnen hier, aus der Listbox die jeweilige Flankenkorrektur auszuwählen.

Eine vielverwendete Art der Flankenkorrektur besteht darin, die Flanke längs der Zahnbreite mit sogenannter Breitenballigkeit auszuführen. Um Herstellabweichungen und Verformungen der Zahnräder unter Last auszugleichen und die Zahnenden zu entlasten, benutzt man die Breitenballigkeit als Art der Flankenkorrektur. Die Balligkeit \(C_{c}\) wird im Allgemeinen symmetrisch zur Mitte der Verzahnungsbreite ausgeführt.

Durch die Flankenlinienabweichung entsteht eine Überlastung der Zahnenden. Daher wird diese Art der Flankenkorrektur genutzt, um die Zahnenden vor der Überlastung zu schützen. Im Allgemeinen wird die Rücknahme für beide Zahnenden gleich groß gewählt. Die Endrücknahme empfiehlt sich nur dann, wenn Balligschleifen oder -schaben nicht möglich sind.

Stützwirkung nach DIN 3990, Teil 1 (Ausgabe Dez. 1987): Mit Stützwirkung ist bei aufgeschnittener Verzahnung zu rechnen, wenn \(d_{1}/d_{sh} \geq 1,15\); ohne Stützwirkung bei \(d_{1}/d_{sh} < 1,15\), ferner bei aufgestecktem Ritzel mit Passfederverbindung oder ähnlichem; auch bei üblichen Schrumpfsitzen ist praktisch keine Stützwirkung zu erwarten (Quelle: DIN 3990 Teil 1 (Ausgabe Dezember 1987); Beuth Verlag GmbH Berlin (Bild 6.8., S.33)).

Die übertragende Leistung k ist der prozentuale Anteil der Leistung, die über den Zahneingriff des Ritzels weitergeleitet wird, im Verhältnis zu der Gesamtleistung, die über die Ritzelwelle geleitet wird. Es wird z.B. an einer Welle eine Leistung von 10 kW eingeleitet. Über den Zahneingriff werden 60% übertragen und weitere 40% am Wellenende ausgeleitet. Für das Ritzel sind nun 6 kW zur Auslegung der Verzahnung zu definieren. Für die Auslegung des Breitenfaktors ist dann als übertragene Leistung 60% einzugeben, da hierüber die stärkere Wellenverformung aufgrund der gesamten Drehmomentübertragung (10 kW) berücksichtigt wird.

Die Eingaben für Leistung, Drehzahl und Drehmoment gelten für das jeweilige Bezugsrad, welches in der
Listbox ausgewählt ist. Für das andere Rad werden Drehzahl und Drehmoment aus den Eingaben für das
Bezugsrad ermittelt.
Die Leistung, das Drehmoment sowie die Drehzahl sind voneinander abhängig. Über den nebenstehenden
Button „T/P“ können Sie zwischen der Eingabe für das Drehmoment und der Eingabe für die Leistung
wechseln. Wenn Sie auf den Button „T/P“ klicken, können Sie entweder das Drehmoment oder die Leistung
eingeben bzw. umrechnen lassen. Die Bezeichnung ändert sich dann entsprechend in Drehmoment oder
Leistung.
Reibung und Verschleiß an den Zahnflanken sollen durch den Schmierstoff verringert werden, denn die Zahnflankenreibung ist beispielsweise für Flankenabnutzung, Getriebeerwärmung sowie für das Getriebegeräusch verantwortlich. Eine verminderte Zahnflankenreibung verbessert den Wirkungsgrad, der allerdings noch von der Zahnbelastung, der Umfangsgeschwindigkeit, der Verzahnungsqualität und der Oberflächenbeschaffenheit der Zahnflanken abhängt. Soll ein Getriebe einwandfrei arbeiten, so hängt dies doch wesentlich vom gewählten Schmierstoff ab. Hier bietet sich ein flüssiger Schmierstoff an, der leicht zwischen die Zahnflanken gebracht werden kann. Ein Schmierstoff hat aber auch die Aufgabe, Reibungswärme abzuführen und Getriebeelemente vor Korrosion zu schützen. Meist werden auch die zum Getriebe gehörigen Lager und Kupplungen mit dem Schmierstoff versorgt, der somit auch dafür geeignet sein muss.

Für die Wahl flüssiger Schmierstoffe gilt im Allgemeinen: „Je kleiner die Umfangsgeschwindigkeit und je
größer die Wälzpressung sowie die Rauhigkeit der Zahnflanken sind, um so höher muss die Viskosität sein.
Eine höhere Viskosität bewirkt eine größere hydrodynamische Tragfähigkeit und Belastbarkeit, und
somit auch eine höhere Fresslastgrenze, bei der Riefenbildung oder Fressen der Zahnflanken
einsetzt.“ (Muhs/Wittel/Jannasch/Voßiek: Roloff/Matek Maschinenlemente, 17. überarbeitete Auflage, Vieweg
Verlag, Wiesbaden 2005)
Hinweis: Die Viskosität eines Schmiermittels sollte hoch sein, wenn das Getriebe wechselnden Belastungen
ausgesetzt ist, da dadurch auftretende Stöße gedämpft werden.
Im Gehäuse laufende Räder werden fast ausnahmslos mit Öl geschmiert. Hierbei unterscheidet man zwischen Tauch- und Einspritzschmierung.
Wenn Sie auf den Button „Schmierstoff“ klicken, gelangen Sie in die umfangreiche Schmierstoffdatenbank. Hier erhalten Sie detaillierte Informationen zu den Ölen und Fetten, wie zum Beispiel die Dichte, die Viskosität oder die Kraftstufe des FZG-Tests. Wählen Sie aus der Listbox „eigene Eingabe“, so lässt sich auch hier ein individueller Schmierstoff definieren.

Klicken Sie in der Hauptmaske der Tragfähigkeit auf den entsprechenden Button, um die erweiterten Eingabeoptionen aufzurufen. Ändern Sie in der dann folgenden Maske keine Eingaben, so wird mit den Standard-Eingabewerten weiter gerechnet.

Für die Eingaben von bestimmten Faktoren, wie zum Beispiel Dynamikfaktor oder Stirnfaktor, klicken Sie auf den Button „Allgemein“.

Der Dynamikfaktor \(K_{V}\) berücksichtigt innere dynamische Zusatzkräfte. Infolge von Flankenlinienabweichungen,
Breitenballigkeit der Zahnflanken, Verformung der Zähne, des Gehäuses, der Wellen und der Radkörper
sowie Schwingungen der Radmassen kommt es zu inneren dynamischen Zusatzkräften. Sie steigen mit der
Umfangsgeschwindigkeit der Zahnkränze, nehmen aber mit steigender Belastung der Zähne ab. Der
Dynamikfaktor kann über das Schloss-Symbol manuell eingegeben werden.
Die Stirnfaktoren berücksichtigen die Auswirkung ungleichmäßiger Kraftaufteilung auf mehrere gleichzeitig im
Eingriff befindliche Zahnpaare (das heißt in Umfangsrichtung) auf die Flankenpressung (\(K_{H\alpha }\)), auf die
Fressbeanspruchung (\(K_{B\alpha }\)) und auf die Zahnfußbeanspruchung (\(K_{F\alpha }\)). Der Stirnfaktor kann über das Schloss-Symbol
manuell eingegeben werden.
Der Aufteilungsfaktor berücksichtigt die ungleichmäßige Verteilung der Gesamt-Umfangskraft bei Getrieben
mit einer Leistungsverzweigung oder bei Planetengetrieben mit mehr als drei Planeten. Bei einer
Leistungsverzweigung teilt sich die Gesamt-Umfangskraft auf mehrere Eingriffe auf dem Umfang auf. Bei
Getrieben ohne eine Leistungsverzweigung wird der Wert „1.0“ gesetzt.
Sind die Zahnbreiten von Ritzel und Rad ungleich, so ist je Zahnende höchstens ein Überstand von ein mal
Modul als mittragend anzunehmen. Bei randschichtgehärteten Zahnrädern sind ungehärtete Bereiche der
Zahnbreite einschließlich der Übergangszone nur zu 50% als mittragend anzusehen. Wenn jedoch durch
Breitenballigkeit oder Endrücknahme der Kontakt nicht bis zur Stirnseite reicht, ist für Ritzel und Rad die
Breite des schmaleren von beiden einzusetzen. Der Wert für die mittragende Breite kann über den
Schloss-Button individuell modifiziert werden.
In einzelnen Fällen kann die Bildung von Grübchen an der Zahnflanke zugelassen werden. Hier finden Sie also die Option, Grübchen zuzulassen. Anfänglich auftretende, zum Stillstand kommende Grübchenbildung ist im allgemeinen oft zulässig. Oft gehen insbesondere bei einsatzgehärteten oder nitrierten Verzahnungen von Grübchen in Zahnfußnähe Ermüdungsbrüche aus, wodurch eine jeweils individuelle Beurteilung erforderlich ist. In einigen Grenzfällen (Luft- und Raumfahrt) sind deshalb einzelne Grübchen absolut unzulässig. Auch bei Turbogetrieben können Grübchen zu Schwingungen und zu erhöhten dynamischen Zusatzkräften führen.

Klicken Sie in der Hauptmaske der Tragfähigkeit auf den Button „Fuß/Flanke“, so werden die erweiterten Eingabeoptionen aufgerufen.

Die Oberflächenrauigkeit der Flanken beeinflusst die Flankentragfähigkeit. Die gemittelte Rautiefe \(R_{z}\) ist das
arithmetische Mittel aus den Einzelrautiefen fünf aneinandergrenzender Einzelmessstrecken. Die Eingabe der
Rautiefe erfolgt für Ritzel und Zahnstange am Fuß und an der Flanke. Die Oberflächenrauigkeit eines
Werkstückes wird hinsichtlich der zu erfüllenden Funktion und nach der wirtschaftlichen Fertigung gewählt.
Hohe Herstellkosten ergeben sich aus einer zu feinen Oberfläche. Eine zu grobe Oberfläche kann unter
Umständen nicht die geforderte Funktionalität erfüllen.
Schleifkerben können die Dauerfestigkeit erheblich mindern, sogar so sehr, dass aus einer Schleifkerbe ein Zahnbruch entstehen kann.

Durch Kugelstrahlen kann besonders die Dauerfestigkeit der durch Schleifkerben geschädigten
Räder gesteigert werden. Ein sorgfältiges Ausschleifen der Kerben ist grundsätzlich ebenfalls
geeignet. Mit einem Klick auf den Fragezeichen-Button, lässt sich die Abbildung für die Schleifkerbe
öffnen.
Die Einhärtetiefe ist wesentlich für die Grübchentragfähigkeit und wird von der Einwärmtiefe (auf Härtetemperatur erwärmte Randschicht) und der Einhärtbarkeit des Werkstoffes und der Wirkung des Abschreckverfahrens bestimmt. Die Einsatzstähle erhalten ihre kennzeichnenden Eigenschaften durch das Einsatzhärten. Dieses kombinierte Wärmebehandlungsverfahren besteht aus den folgenden Teilprozessen:
Hinweis: Die eAssistant-Software berechnet für Einsatzstähle automatisch die Einsatzhärtetiefe, es besteht jedoch die Möglichkeit, diese auch individuell vorzugeben. Ist die individuelle Einsatzhärtetiefe kleiner als die optimale Einsatzhärtetiefe, dann wird die Dauerfestigkeit entsprechend reduziert. Die Berechnung der optimalen Einsatzhärtetiefe sowie die Reduzierung der Dauerfestigkeit bei verringerter Einsatzhärtetiefe erfolgt nach: „Tobie, Thomas: Zur Grübchen- und Zahnfußtragfähigkeit einsatzgehärteter Zahnräder, Dissertation Technische Universität München (Lehrstuhl für Maschinenelemente, Forschungsstelle für Zahnräder und Getriebebau) 2001, Kap. 10.3: Eingliederung der Versuchsergebnisse in das Rechenverfahren nach DIN 3990“.

Der Technologiefaktor \(Y_{T}\) berücksichtigt die Veränderung der Fußfestigkeit durch Bearbeitung.
\[\sigma _{Flim} = \sigma _{Flim0} Y_{T}\]
| \(\sigma _{Flim0}\) | Zahnfuß-Dauerfestigkeit aus Werkstoff-Kennwerten |
| \(\sigma _{Flim}\) | Zahnfuß-Dauerfestigkeit mit Einfluss des Technologiefaktors |
| \(Y_{T}\) | Technologiefaktor (siehe nachfolgende Tabelle) |
| Technologiefaktor \(Y_{T}\) nach Linke6
| |
| Art der Bearbeitung des Zahngrundes | Technologiefaktor \(Y_{T}\) |
| Kugelstrahlen: | 1,2 bis 1,4 |
| gilt für einsatzgehärtete oder carbonierte Verzahnung; in der verfestigten Schicht nicht geschliffen |
|
| Rollen: | 1,3 bis 1,5 |
| gilt für flamm- oder induktionsgehärtete Verzahnung; in der verfestigten Schicht nicht geschliffen |
|
| Schleifen: | allgemein: 0,7 |
| gilt für einsatzgehärtete oder carbonierte Verzahnung | bei CBN-Schleifscheiben: 1 |
| Spanende Bearbeitung: | 1 |
| gilt nicht für geschliffene Verzahnung |
|
| 6 Tabelle aus: Linke, H.: Stirnradverzahnung Berechnung Werkstoffe Fertigung, Carl Hanser
Verlag München Wien, 1996, S. 320, Tab.: 6.5/6
| |
Die Tabellen für den Technologiefaktor und den Betriebsartenfaktor lassen sich über den Fragezeichen-Button öffnen.

Die Zahnfuß-Dauerfestigkeit \(\sigma _{Flim}\) wird mit dem Einfluss der Betriebsart korrigiert.
\[\sigma _{Flim} = \sigma _{Flim0} Y_{A}\]
| \(\sigma _{Flim0}\) | Zahnfuß-Dauerfestigkeit aus Werkstoff-Kennwerten |
| \(\sigma _{Flim}\) | Zahnfuß-Dauerfestigkeit mit Einfluss des Betriebsartenfaktors |
| \(Y_{A}\) | Betriebsartenfaktor (siehe nachfolgende Tabelle) |
Für den Betriebsartenfaktor \(Y_{A}\) können die folgenden Anhaltswerte verwendet werden. Für schwellende und wechselnde Beanspruchung gibt die DIN 3990 identische Werte an.
| Betriebsartenfaktor \(Y_{A}\) nach Linke7
| ||
| Betriebsart | Betriebsartenfaktor \(Y_{A}\) | Belastungsrichtung |
| schwellend | 1 | |
| wechselnd | 0,7 | |
| reversierend | 0,85 - 0,15 \(\frac {lgN_{rev}}{6}\) (für \(1\leq N_{rev} \leq 10^{6}\)) 0,7 (für \(N_{rev} > 10^{6}\)) | |
| Hinweis: \(N_{rev}\) = Anzahl der Lastrichtungsänderungen während der Betriebszeit
| ||
| 7 Tabelle aus: Linke, H.: Stirnradverzahnung Berechnung Werkstoffe Fertigung, Carl Hanser
Verlag München Wien, 1996, S. 321, Tab.: 6.5/7
| ||
Auch für die Fresstragfähigkeit gibt es erweiterte Eingabeoptionen. Klicken Sie für diese Eingabeoptionen auf den Button „Fressen“.

Der thermische Kontaktkoeffizient wird für die Ermittlung des Blitzfaktors benötigt. Durch den Blitzfaktor wird der Einfluss der Werkstoffeigenschaften von Ritzel und Rad auf die Blitztemperatur berücksichtigt.

Der relative Gefügefaktor \(X_{WrelT}\) berücksichtigt die Eigenschaften des Werkstoffes auf die Fressfestigkeit und wird bestimmt mit:
\[X_{WrelT} = \frac {X_{W}}{X_{WT}}\]
| \(X_{W}\) | Empirisch ermittelte Gefügefaktoren sind der unteren Tabelle zu entnehmen |
| \(X_{WT}\) | Gefügefaktor für die Versuchszahnräder, die zur Ermittlung der Fresstemperatur verwendet werden. |
| Für den FZG-Zahnradtest ist \(X_{WT}\) = 1,0. |
| Werkstoff/Wärmebehandlung | Gefügefaktor \(X_{W}\) |
| vergütete Stähle | 1,00 |
| phosphatierte Stähle | 1,25 |
| verkupferte Stähle | 1,50 |
| bad-gasnitirierte Stähle | 1,50 |
| einsatzgehärtete Stähle | |
| - mit unterdurchschnittlichem Austenitgehalt | 1,15 |
| - mit normalem Austenitgehalt | 1,00 |
| - mit überdurchschnittlichem Austenitgehalt | 0,85 |
| austenitische Stähle (rostfreie Stähle) | 0,45 |
| 8 Tabelle aus: Linke, H.: Stirnradverzahnung Berechnung Werkstoffe Fertigung,
Carl Hanser Verlag München Wien, 2. Auflage 2010, S. 367, Tab.: 6.5/16
| |
Da das Fressen kein Ermüdungsschaden ist und durch Schmierstoffe beeinflusst wird, wird der maßgebende Tragfähigkeitskennwert des Schmierstoffes mit einem Zahnrad-Kurztest ermittelt. Mit diesem Test wird die Fresstragfähigkeit eines Schmierstoffes bei bestimmten Betriebsbedingungen untersucht. Dafür eignet sich der sogenannte FZG-Test (FZG - Forschungsstelle für Zahnräder und Getriebebau der Technischen Universität München). Dieser Test ist ein genormtes Prüfverfahren nach DIN 51354. Als Prüfelemente werden genormte, einsatzgehärtete und geschliffene Geradstirnräder mit starker einseitiger Profilverschiebung verwendet. In einer Zahnrad-Verspannungs-Prüfmaschine mit definierten technischen Daten wird die Beanspruchung stufenweise gesteigert. Insgesamt sind 12 Kraftstufen für die Prüfung vorgesehen und am Ende jeder Kraftstufe werden die Ritzelzahnflanken auf Oberfächenschäden untersucht. Schließlich wird die Kraftstufe ermittelt, in der der Verschleiß in eine Hochlage springt und die Zahnflanken fressen und so stärkere Schäden an der Zahnflanke auftreten. Nicht bei allen Schmierstoffen ist in der Schmierstoffdatenbank eine Kraftstufe für den FZG-Test definiert. Durch ein Klicken auf den Schloss-Button lässt sich die Listbox freischalten und eine Kraftstufe auswählen.

Bei Hochleistungsgetrieben können Korrekturen an der theoretischen Evolvente vorgenommen werden. Über die Listbox können Sie die Art der Profilkorrektur bestimmen. Unterschieden werden hierbei die folgenden Einträge:

Der Kraftaufteilungsfaktor \(X_{\Gamma }\) drückt den Einfluss der Kraftaufteilung aufeinanderfolgende, im Eingriff stehende Zahnpaare aus. Der Verlauf des Kraftaufteilungsfaktors wird durch einen polygonartigen Verlauf über der Eingriffslinie dargestellt. Die Werte in den Punkten A und E hängen von der Form der Profilkorrekturen beider Zahnräder ab. Der Kraftaufteilungsfaktor ergibt sich nach DIN 3990 (siehe Teil 4, S. 17):




Die Kontakttemperatur besitzt entlang der Eingriffsstrecke unterschiedliche Werte aufgrund des Blitztemperatur-Verlaufes.



Hohe Oberflächentemperaturen, die durch hohe Belastungen und Gleitgeschwindigkeiten hervorgerufen werden, können zu einem Zusammenbruch des Schmierfilms führen. Aufgrund dessen werden in der DIN 3990 zwei Berechnungsverfahren aufgeführt, die auf unterschiedlichen Kriterien für die Schadensentwicklung basieren und im Berechnungsmodul Anwendung finden:
Warmfressen tritt nach dem Blitztemperatur-Verfahren dann auf, wenn die momentane Kontakttemperatur \(\vartheta _{B}\) hoch genug ist, um ein örtliches Verschweißen der sich berührenden Zahnflanken hervorzurufen. Die Kontakttemperatur \(\vartheta _{B}\) in einem beliebigen Berührpunkt \(Y\) ergibt sich aus der Summe der Massentemperatur \(\vartheta _{M}\) und der Blitztemperatur \(\vartheta _{fla}\) zu
\[\vartheta _{B} = \vartheta _{M} + \vartheta _{fla}\]
Nach dem Blitztemperatur-Verfahren tritt kein Fressen auf, solange die Kontakttemperatur \(\vartheta _{B}\) (als Summe der Massentemperatur \(\vartheta _{M}\) und der Blitztemperatur \(\vartheta _{fla}\)) in allen Eingriffspunkten eine Fresstemperatur \(\vartheta _{S}\) nicht übersteigt. Die Fresstemperatur \(\vartheta _{S}\) wird in Zahnradversuchen eines Werkstoff-Schmierstoff-Werkstoff-Systems ermittelt und auf das betrachtete Zahnradpaar übertragen.

Hinweis: Die Buchstaben A bis E kennzeichnen die wichtigen Punkte von Eingriffsbeginn bis Eingriffsende.
Die Sicherheit \(S_{B}\) gegen Fressen bestimmt sich nach dem Blitztemperatur-Verfahren zu:
\[S_{B} = \frac {\vartheta _{S} - \vartheta _{oil}}{\vartheta _{Bmax} - \vartheta _{oil}} \geq S_{Bmin}\]
| \(\vartheta _{Bmax}\) | Maximalwert der Kontakttemperatur längs der Eingriffsstrecke |
| \(\vartheta _{oil}\) | Schmieröltemperatur vor dem Eingriff |
| \(\vartheta _{S}\) | Fresstemperatur |
Der Sicherheitsfaktor \(S_{Bmin}\) ist davon abhängig, ob das Getriebe erst nach einem guten Einlauf in Betrieb genommen wird. Bei sorgfältigem Einlauf kann bis \(S_{Bmin} \approx 1\) kein Fressschaden auftreten. Ohne Einlauf ist bis \(S_{Bmin} \approx 3\) ein Fressen ausgeschlossen.
Nach dem Kriterium des Integraltemperatur-Verfahrens tritt Fressen gerade dann auf, wenn die Integraltemperatur einen bestimmten Wert, die sogenannte Fress-Integraltemperatur, überschreitet. Die Fress-Integraltemperatur wird als charakteristischer Wert für das System Werkstoff-Schmierstoff-Werkstoff eines Zahnradpaares angenommen, der in Zahnradversuchen ermittelt wird. Die Fresssicherheit nach dem Integral-Temperatur-Kriterium \(S_{intS}\) ergibt sich aus:
\[S_{intS} = \frac {\vartheta _{intS}}{\vartheta _{int}} \geq S_{Smin}\]
| \(\vartheta _{intS}\) | Fress-Integraltemperatur |
| \(\vartheta _{int}\) | Integraltemperatur |
Zur Vermeidung unnötiger Gefahren und zur Berücksichtigung von Ungenauigkeiten in der Berechnung, muss ein Fress-Sicherheitsfaktor für die Integraltemperatur eingeführt werden. In DIN 3990 werden aus praktischen Untersuchungen folgende Anhaltswerte gegeben:
| \(S_{intS} < 1,0\) | mit hoher Wahrscheinlichkeit ist mit dem Auftreten von Fressen zu rechnen |
| \(1,0 \leq S_{intS} \leq 2,0\) | bei sorgfältigem Einlauf der Getriebe, gutem Tragbild und realen Belastungsannahmen |
| sind keine Fressschäden zu erwarten |
| \(S_{intS} > 2,0\) | ein Fressen ist kaum zu befürchten |
Alternativ zur Tragfähigkeitsberechnung nach DIN 3390 Methode B können Sie über die Listbox auch die Berechnung für die Zahnfußfestigkeit und die Flanken- bzw. Grübchentragfähigkeit nach ISO 6336 (2008) Methode B auswählen. Alle Eingabefelder werden aktiviert.

Die Festigkeitsberechnung nach ISO 6336 entspricht zum größten Teil der DIN 3990. Es gibt Faktoren, welche
die Zahnfußspannung und die Flankenfestigkeit beeinflussen, jedoch sind die Auswirkungen sehr gering und die
Sicherheiten unterscheiden sich kaum von der DIN 3990. Es gibt allerdings auch Faktoren, die einen
wesentlichen Einfluss auf die Sicherheiten haben. Dazu gehören zum Beispiel die Berechnung des
Schrägenfaktors \(Z_{\beta }\), die Berechnung der Lebensdauerfaktoren (\(Z_{NT}\) und \(Y_{NT}\)) für die Zahnfußfestigkeit sowie der
Übergang zur 60°-Tangente für Hohlräder.
Der Lebendauerfaktor \(Y_{NT}\) am Zahnfuß und der Lebensdauerfaktor \(Z_{NT}\) an der Flanke berücksichtigen die gegenüber der Dauerfestigkeit höhere Zahnflanken- und höhere Zahnfußtragfähigkeit bei einer begrenzten Anzahl von Lastwechseln. Die Faktoren werden hauptsächlich von Werkstoff, Wärmebehandlung, Anzahl der Lastwechsel sowie Kerbempfindlichkeit, Oberflächenbeschaffenheit und Baugröße beeinflusst. \(Z_{NT}\) und \(Y_{NT}\) lassen sich für die statische Festigkeit und die Dauerfestigkeit abhängig von Werkstoff und Wärmebehandlung aus der folgenden graphischen Abbildung entnehmen.

Lebendauerfaktor \(Y_{NT}\):
Für Lastwechselzahlen \(N_{L} = 3 \cdot 10^{6}\) kann bei optimalen Voraussetzungen von Werkstoff- und Herstellqualität mit \(Y_{NT}\) =
1,0 gerechnet werden. Im Bereich der statischen Beanspruchung \(N_{L} \leq 10^{3}\) wird der Lebensdauerfaktor zu
2,5.
Lebensdauerfaktor \(Z_{NT}\):
Für Lastwechselzahlen \(N_{L} = 5 \cdot 10^7\) kann bei optimalen Voraussetzungen von Werkstoff- und Herstellqualität mit \(Z_{NT}\) =
1,0 gerechnet werden. Im Bereich der statischen Beanspruchung \(N_{L} \leq 10^{5}\) wird der Lebensdauerfaktor zu
1,6.

Bei der Berechnung des Lebensdauerfaktoren \(Z_{NT}\) bzw. \(Y_{NT}\) treten wesentliche Unterschiede zwischen DIN 3990 und ISO 6336 auf. Einer der wichtigsten Unterschiede besteht beim Ansatz der vereinfachten Wöhlerlinie. Der Lebensdauerfaktor für die Zahnfußfestigkeit wird beim Erreichen der Lastwechselzahl für Dauerfestigkeit zu 1.0 (je nach Werkstoffart, üblicherweise bei \(3 \cdot 10^6\) Lastwechseln). Bei der DIN 3990 bleibt dieser Faktor bei höheren Lastwechselzahlen konstant, während sich bei der ISO 6336 eine Verminderung bis auf 0.85 bei \(10^{10}\) Lastwechseln ergibt. Erst danach, also bei \(10^{10}\) Lastwechseln, bleibt der Faktor konstant bei 0.85. Dieser Unterschied hat bei Berechnungen von Zahnrädern im Dauerfestigkeitsbereich nach ISO 6336 Sicherheiten zur Folge, die etwa um 15% niedriger sind als nach DIN 3990. Dieses gilt auch für den Lebensdauerfaktor für die Flankenpressung. Die Faktoren lassen sich über den Schloss-Button individuell modifizieren. Klicken Sie auf den Schloss-Button, dann werden die Eingabefelder aktiviert und die Lebensdauerfaktoren können angepasst werden. Denken Sie daran, den Schloss-Button geöffnet zu lassen, sonst werden die ursprünglichen Standardwerte wieder eingesetzt.
Ein weiterer Unterschied zwischen DIN und ISO stellt die Ermittlung der Eingriffsfedersteifigkeit \(c_{\gamma }\) für die
Berechnung des Breitenlastfaktors dar. Der Faktor \(K_{H\beta }\) dient der Berücksichtigung der Lastverteilung über
die Zahnflankenbreite. In der neuen ISO 6336 wird für die Berechnung von \(K_{H\beta }\) mit einer um 15%
reduzierten Eingriffsfedersteifigkeit \(c_{\gamma }\) im Vergleich zur DIN 3990 gearbeitet. Dies führt zu leicht geringeren
Breitenfaktoren.
Um die bei dünnen Radkränzen, wie z.B. bei Planeten- oder Hohlrädern, zusätzlich auftretende
Belastung im Zahnfuß zu berücksichtigen, wurde der Zahnkranzdickenfaktor \(Y_{B}\) neu eingeführt. Bei
Außenverzahnungen wird die Erhöhung der Zahnfußspannung durch geringe Zahnkranzdicke auf die
Zahnhöhe und bei Innenverzahnungen auf den Normalmodul bezogen berücksichtigt. Eine Abminderung
der Tragfähigkeit ergibt sich für Außenverzahnungen bei einer Zahnkranzdicke \(s_{R} < 1,2 \cdot h_{t}\) bzw. rund \(2,8 \cdot m_{n}\), für
Innenverzahnungen bei Zahnkranzdicken \(s_{R} < 3,5 \cdot m_{n}\) (ISO 6336 Edition 2006 - Was ist neu?: Dr.-Ing. R. Heß, Dipl.-Ing. B.
Kisters, A. Friedr. Flender AG, Bocholt, Tagungsbeitrag Dresdener Maschinenelemente Kolloquium
2009).
Ein weiterer Unterschied betrifft den Schrägenfaktor. Der Schrägenfaktor \(Z_{\beta }\) berücksichtigt den Einfluss des Schrägungswinkels auf die Grübchentragfähigkeit, wobei Einflüsse wie die Kraftverteilung entlang der Berührlinien beachtet werden. \(Z_{\beta }\) hängt nur vom Schrägungswinkel \(\beta \) ab. In DIN und ISO ist die Formel zur Berechnung des Schrägenfaktors unterschiedlich. DIN 3990 gibt die folgende Gleichung zur Berechnung des Schrägenfaktors an (wobei \(\beta \) der Schrägungswinkel am Teilzylinder ist):
\[Z_{\beta } = \sqrt {\cos \beta }\]
Die ISO 6336 verwendet dagegen die folgende Gleichung:
\[Z_{\beta } = \frac {1}{\sqrt {\cos \beta }}\]

In der neuesten Ausgabe der ISO 6336 wurde der Werkstoffpaarungsfaktor \(Z_{W}\) überarbeitet. Dieser Faktor dient
zur Berechnung der zulässigen Hertz´schen Pressung und somit zur Ermittlung der Flankentragfähigkeit und
wird für die Tragfähigkeitssteigerung bei unterschiedlich harten Verzahnungen genutzt. In der DIN 3990 und
der früheren Ausgabe der ISO 6336 war dieser Faktor lediglich abhängig von der Oberflächenhärte des
weicheren Zahnrades.
Der Einfluss der Oberflächenrauheit in die Berechnung des Werkstoffpaarungsfaktors wurde zusätzlich
integriert. Örtliche Flankenkrümmung, Umfangsgeschwindigkeit und Viskosität fließen dabei mit in die
Berechnung ein. Das bedeutet, dass der Werkstoffpaarungsfaktor bei rauerer Oberfläche des
härteren Zahnrades reduziert wird. Dies resultiert aus der Erkenntnis, dass eine raue Oberfläche
des härteren Zahnrades auch zum Verschleiß des weicheren Zahnrades führen kann. Dieser
Verschleiß stellt jedoch kein Schadenskriterium in der ISO 6336 dar. Deshalb wird die Untergrenze des
Werkstoffpaarungsfaktors \(Z_{W}\) auf 1,0 festgelegt (ISO 6336 Edition 2006 - Was ist neu?: Dr.-Ing. R. Heß, Dipl.-Ing.
B. Kisters, A. Friedr. Flender AG, Bocholt, Tagungsbeitrag Dresdener Maschinenelemente Kolloquium
2009).
In der ISO 6336 wird keine Berechnungsmethode für das Fressen vorgegeben. Bei der ISO/TR 13989 handelt es sich um einen Technical Report (Erstausgabe März 2000), also noch keine endgültige ISO-Norm. Da es jedoch im Moment keine verbindliche Norm gibt, empfiehlt sich daher die Anwendung der ISO/TR 13989. Sobald als Tragfähigkeitsmethode die ISO 6336 Methode B gewählt wird, erfolgt die Berechnung der Fresstragfähigkeit nach dem Blitz- als auch nach dem Integraltemperaturkriterium gemäß der ISO/TR 13989 Teil 1 (Blitztemperatur-Verfahren) und Teil 2 (Integraltemperatur-Verfahren).

Der thermische Kontaktkoeffizient wird für die Ermittlung des Blitzfaktors benötigt. Durch den Blitzfaktor wird der Einfluss der Werkstoffeigenschaften von Ritzel und Rad auf die Blitztemperatur berücksichtigt.
Der Schmierstofffaktor \(X_{L}\) variiert in Abhängigkeit vom Schmierstofftyp. Die folgenden Schmierstofftypen lassen sich auswählen:
| \(X_{L}\)= 1,0 | für Mineralöl |
| \(X_{L}\)= 0,6 | für wasserlösliches Polyglykol |
| \(X_{L}\)= 0,7 | für nicht wasserlösliches Polyglykol |
| \(X_{L}\)= 0,8 | für Polyalphaolefin |
| \(X_{L}\)= 1,3 | für Phosphat-Ester |
| \(X_{L}\)= 1,5 | für Reibradöl |

Der relative Gefügefaktor \(X_{WrelT}\) berücksichtigt die Eigenschaften des Werkstoffes auf die Fressfestigkeit und wird bestimmt mit:
\[X_{WrelT} = \frac {X_{W}}{X_{WT}}\]
| \(X_{W}\) | Empirisch ermittelte Gefügefaktoren sind der unteren Tabelle zu entnehmen |
| \(X_{WT}\) | Gefügefaktor für die Versuchszahnräder, die zur Ermittlung der Fresstemperatur verwendet werden. |
| Für den FZG-Zahnradtest ist \(X_{WT}\) = 1,0. |
| Werkstoff/Wärmebehandlung | Gefügefaktor \(X_{W}\) |
| vergütete Stähle | 1,00 |
| phosphatierte Stähle | 1,25 |
| verkupferte Stähle | 1,50 |
| bad-gasnitirierte Stähle | 1,50 |
| einsatzgehärtete Stähle | |
| - mit unterdurchschnittlichem Austenitgehalt | 1,15 |
| - mit normalem Austenitgehalt | 1,00 |
| - mit überdurchschnittlichem Austenitgehalt | 0,85 |
| austenitische Stähle (rostfreie Stähle) | 0,45 |
| 9 Tabelle aus: Linke, H.: Stirnradverzahnung Berechnung Werkstoffe Fertigung,
Carl Hanser Verlag München Wien, 2. Auflage 2010, S. 367, Tab.: 6.5/16
| |
Da das Fressen kein Ermüdungsschaden ist und durch Schmierstoffe beeinflusst wird, wird der maßgebende Tragfähigkeitskennwert des Schmierstoffes mit einem Zahnrad-Kurztest ermittelt. Mit diesem Test wird die Fresstragfähigkeit eines Schmierstoffes bei bestimmten Betriebsbedingungen untersucht. Dafür eignet sich der sogenannte FZG-Test (FZG - Forschungsstelle für Zahnräder und Getriebebau der Technischen Universität München). Dieser Test ist ein genormtes Prüfverfahren nach DIN 51354. Als Prüfelemente werden genormte, einsatzgehärtete und geschliffene Geradstirnräder mit starker einseitiger Profilverschiebung verwendet. In einer Zahnrad-Verspannungs-Prüfmaschine mit definierten technischen Daten wird die Beanspruchung stufenweise gesteigert. Insgesamt sind 12 Kraftstufen für die Prüfung vorgesehen und am Ende jeder Kraftstufe werden die Ritzelzahnflanken auf Oberfächenschäden untersucht. Schließlich wird die Kraftstufe ermittelt, in der der Verschleiß in eine Hochlage springt und die Zahnflanken fressen und so stärkere Schäden an der Zahnflanke auftreten. Nicht bei allen Schmierstoffen ist in der Schmierstoffdatenbank eine Kraftstufe für den FZG-Test definiert. Durch ein Klicken auf den Schloss-Button lässt sich die Listbox freischalten und eine Kraftstufe auswählen.

Hohe Oberflächentemperaturen, die durch hohe Belastungen und Gleitgeschwindigkeiten hervorgerufen werden, können zu einem Zusammenbruch des Schmierfilms führen. Aufgrund dessen werden in der DIN 3990 zwei Berechnungsverfahren aufgeführt, die auf unterschiedlichen Kriterien für die Schadensentwicklung basieren und im Berechnungsmodul Anwendung finden:
Warmfressen tritt nach dem Blitztemperatur-Verfahren dann auf, wenn die momentane Kontakttemperatur \(\vartheta _{B}\) hoch genug ist, um ein örtliches Verschweißen der sich berührenden Zahnflanken hervorzurufen. Die Kontakttemperatur \(\vartheta _{B}\) in einem beliebigen Berührpunkt \(Y\) ergibt sich aus der Summe der Massentemperatur \(\vartheta _{M}\) und der Blitztemperatur \(\vartheta _{fla}\) zu
\[\vartheta _{B} = \vartheta _{M} + \vartheta _{fla}\]
Nach dem Blitztemperatur-Verfahren tritt kein Fressen auf, solange die Kontakttemperatur \(\vartheta _{B}\) (als Summe der Massentemperatur \(\vartheta _{M}\) und der Blitztemperatur \(\vartheta _{fla}\)) in allen Eingriffspunkten eine Fresstemperatur \(\vartheta _{S}\) nicht übersteigt. Die Fresstemperatur \(\vartheta _{S}\) wird in Zahnradversuchen eines Werkstoff-Schmierstoff-Werkstoff-Systems ermittelt und auf das betrachtete Zahnradpaar übertragen.
Hinweis: Die Buchstaben A bis E kennzeichnen die wichtigen Punkte von Eingriffsbeginn bis Eingriffsende.

Die Sicherheit \(S_{B}\) gegen Fressen bestimmt sich nach dem Blitztemperatur-Verfahren zu:
\[S_{B} = \frac {\vartheta _{S} - \vartheta _{oil}}{\vartheta _{Bmax} - \vartheta _{oil}} \geq S_{Bmin}\]
| \(\vartheta _{Bmax}\) | Maximalwert der Kontakttemperatur längs der Eingriffsstrecke |
| \(\vartheta _{oil}\) | Schmieröltemperatur vor dem Eingriff |
| \(\vartheta _{S}\) | Fresstemperatur |
Der Sicherheitsfaktor \(S_{Bmin}\) ist davon abhängig, ob das Getriebe erst nach einem guten Einlauf in Betrieb
genommen wird. Bei sorgfältigem Einlauf kann bis \(S_{Bmin} \approx 1\) kein Fressschaden auftreten. Ohne Einlauf ist bis \(S_{Bmin} \approx 3\) ein
Fressen ausgeschlossen.
Nach dem Kriterium des Integraltemperatur-Verfahrens tritt Fressen gerade dann auf, wenn die Integraltemperatur einen bestimmten Wert, die sogenannte Fress-Integraltemperatur, überschreitet. Die Fress-Integraltemperatur wird als charakteristischer Wert für das System Werkstoff-Schmierstoff-Werkstoff eines Zahnradpaares angenommen, der in Zahnradversuchen ermittelt wird. Die Fresssicherheit nach dem Integral-Temperatur-Kriterium \(S_{intS}\) ergibt sich aus:
\[S_{intS} = \frac {\vartheta _{intS}}{\vartheta _{int}} \geq S_{Smin}\]
| \(\vartheta _{intS}\) | Fress-Integraltemperatur |
| \(\vartheta _{int}\) | Integraltemperatur |
Zur Vermeidung unnötiger Gefahren und zur Berücksichtigung von Ungenauigkeiten in der Berechnung, muss ein Fress-Sicherheitsfaktor für die Integraltemperatur eingeführt werden. In DIN 3990 werden aus praktischen Untersuchungen folgende Anhaltswerte gegeben:
| \(S_{intS} < 1,0\) | mit hoher Wahrscheinlichkeit ist mit dem Auftreten von Fressen zu rechnen |
| \(1,0 \leq S_{intS} \leq 2,0\) | bei sorgfältigem Einlauf der Getriebe, gutem Tragbild und realen Belastungsannahmen |
| sind keine Fressschäden zu erwarten |
| \(S_{intS} > 2,0\) | ein Fressen ist kaum zu befürchten |
Die Norm ANSI/AGMA 2101-D04 sieht die Berechnung von Sicherheiten für Fuß und Flanke vor. Darüber hinaus ist auch eine Berechnung des Fressrisikos möglich. Zusätzlich zu den Normen DIN 3990 und ISO 6336 bietet die ANSI/AGMA 2101-D04 auch die Berechnung von Verschleiß. Die eAssistantSoftware berechnet den Verschleiß als Ausfallwahrscheinlichkeit. Wählen Sie ANSI/AGMA 2101-D04 aus der Listbox und die Eingabefelder werden aktiviert. Im Folgenden werden einige Faktoren aus der Norm erläutert.

Mit der neuen Ausgabe der ANSI/AGMA 2101-D04 (ANSI/AGMA 2001-D04 Imperial Unit Edition) wurde der Anwendungsfaktor aus der ANSI/AGMA 2101-C95 durch den Überlastfaktor \(K_{O}\) ersetzt.

Der Überlastfaktor soll alle von außen aufgebrachten Lasten berücksichtigen, die über die tangentiale
Nennlast \(F_{t}\) für eine bestimmte Anwendung hinausgehen. Überlastfaktoren können nur dann festgelegt werden,
wenn in einer bestimmten Anwendung umfangreiche Erfahrungen gesammelt wurden.
Bei einem Überlastfaktor von 1 beinhaltet diese Bemessungsmethode die Fähigkeit, eine begrenzte Anzahl
von bis zu 200 % kurzen Überlastzyklen auszuhalten (normalerweise weniger als vier Starts innerhalb von 8
Stunden, wobei die Spitze nicht länger als eine Sekunde dauert). Höhere oder häufigere kurzzeitige
Überlastungen sind gesondert zu berücksichtigen.
Bei der Bestimmung des Überlastfaktors \(K_{O}\) sollte die Tatsache berücksichtigt werden, dass viele Antriebsmaschinen und angetriebene Geräte einzeln oder in Kombination kurzzeitige Spitzendrehmomente entwickeln, die deutlich über den durch die Nennwerte der Antriebsmaschine oder des angetriebenen Geräts bestimmten Werten liegen. Es gibt viele mögliche Überlastungsquellen, die berücksichtigt werden sollten. Einige davon sind: Systemvibrationen, Beschleunigungsmomente, Überdrehzahlen, Schwankungen im Systembetrieb, Lastverteilung auf mehrere Antriebsmaschinen und Änderungen der Prozesslastbedingungen.
Die Lebensdauerfaktoren, \(Z_{N}\) und \(Y_{N}\), passen die zulässigen Dauerfestigkeitskennwerte für die erforderliche Anzahl
an Lastzyklen an. Für die Zwecke dieser Norm wird \(n_{L}\), die Anzahl der Lastwechsel, als die Anzahl der
Eingriffskontakte des untersuchten Zahns unter Last definiert.
Die zulässigen Dauerfestigkeitskennwerte der AGMA sind für \(10^{7}\) unidirektionale Lastwechsel bei 99 %
Zuverlässigkeit festgelegt. Der Lebensdauerfaktor passt die zulässigen Dauerfestigkeitskennwerte für eine
andere Lebensdauer als die \(10^{7}\) Zyklen an. Der Lebensdauerfaktor berücksichtigt die Wöhlerkurve
(S-N-Charakteristik) des Zahnradwerkstoffs sowie die allmählich zunehmende Zahnspannung, die durch
Zahnverschleiß auftreten kann, was wiederum zu erhöhten dynamischen Effekten führt, und durch
sich verschiebende Lastverteilungen, die während der Lebensdauer der Verzahnung auftreten
können.
Für Fälle, in denen sich die Oberflächenbeschaffenheit nachteilig auswirkt, wurden noch keine Standardfaktoren für die Oberflächenbeschaffenheit von Verzahnungen festgelegt. In solchen Fällen sollte ein Oberflächenfaktor verwendet werden, der größer als 1 ist. Der Oberflächenfaktor kann als 1 angenommen werden, sofern die geeignete Oberflächenbeschaffenheit erreicht wird.

Der Größenfaktor \(K_{S}\) spiegelt die Ungleichmäßigkeit der Werkstoffeigenschaften wider. Er hängt in erster Linie
ab von: Zahngröße, Teiledurchmesser, Verhältnis zwischen Zahngröße und Teiledurchmesser, Zahnbreite,
Fläche des Spannungsbilds, Verhältnis zwischen Einsatzhärtetiefe und Zahngröße, Härtbarkeit und
Wärmebehandlung der Werkstoffe. Für Fälle, in denen ein nachteiliger Größeneffekt auftritt, wurden noch
keine Standard-Größenfaktoren für Verzahnungen festgelegt. In solchen Fällen sollte ein Größenfaktor
verwendet werden, der größer als 1 ist. Der Größenfaktor kann für die meisten Zahnräder als 1
angenommen werden, vorausgesetzt, dass der Stahl für die Größe des Teils und die Wärmebehandlung und
das Härteverfahren richtig gewählt wurde.
Der Temperaturfaktor \(Y_{\vartheta }\) wird im Allgemeinen als 1 angenommen, wenn Getriebe bei Temperaturen des Öls oder des Rohlings arbeiten, die 120°C nicht überschreiten. Wenn die Betriebstemperaturen zu Temperaturen des Zahnradrohlings unter 0°C führen, ist besondere Vorsicht geboten. Bei Betriebstemperaturen von über 120°C wird \(Y_{\vartheta }\) mit einem Wert größer als 1,0 angesetzt, um den Einfluss der Temperatur auf den Ölfilm und die Materialeigenschaften zu berücksichtigen. Bei einigen Werkstoffen ist der Härte- und Festigkeitsverlust durch die Anlasswirkung von Temperaturen über 150°C zu berücksichtigen.
Der Zuverlässigkeitsfaktor \(Y_{Z}\) berücksichtigt die Auswirkung der normalen statistischen Verteilung von Fehlern, die bei der Materialprüfung festgestellt werden. Die in ANSI/AGMA (Tabellen 3 bis 6) angegebenen zulässigen Spannungen basieren auf einer statistischen Wahrscheinlichkeit von einem Ausfall von 100 bei \(10^{7}\) Zyklen. Die folgende Tabelle enthält Zuverlässigkeitsfaktoren, die zur Änderung dieser zulässigen Spannungen verwendet werden können, um diese Wahrscheinlichkeit zu ändern. Diese Zahlen basieren auf Daten, die von der U.S. Navy für den Ausfall durch Biegungversagen und Grübchenbildung entwickelt wurden. Andere Werte können verwendet werden, wenn spezifische Daten verfügbar sind.
| Zuverlässigkeitsfaktor \(Y_{Z}\) 110
| |
| Requirements of Application | \(Y_{Z}\) |
| Weniger als ein Ausfall von 10 000 | 1.50 |
| Weniger als ein Ausfall von 1000 | 1.25 |
| Weniger als ein Ausfall von 100 | 1.00 |
| Weniger als ein Ausfall von 10 | 0.852 |
| Weniger als ein Ausfall von 2 | 0.7023 |
| Anmerkungen: 1) Zahnbruch wird manchmal als größere Gefahr angesehen
als die Grübchenbildung. In solchen Fällen wird für die Biegung ein
größerer Wert für \(Y_{Z}\) gewählt. 2) Bei diesem Wert kann es eher zu plastischem
Fließen als zur Grübchenbildung kommen. 3) Aus der Extrapolation von
Testdaten.
| |
| 10 Tabelle aus: ANSI/AGMA 2001–D04: Fundamental Rating Factors and
Calculation Methods for Involute Spur and Helical Gear Teeth, 2016, S. 38,
Tab.: 11
| |
Der Servicefaktor \(C_{SF}\) wurde in früheren AGMA-Normen verwendet, um die kombinierten Auswirkungen von
Überlastung, Zuverlässigkeit, Lebensdauer und anderen anwendungsbezogenen Faktoren zu
berücksichtigen. Diese Norm bietet die Möglichkeit, Lastschwankungen (mit Überlastfaktor), statistische
Schwankungen (mit Zuverlässigkeitsfaktor) der Wöhlerdaten (S-N-Daten) sowie die Anzahl der Lastzyklen
(mit Lebensdauerfaktoren) zu berücksichtigen.
Der AGMA-Servicefaktor, wie er traditionell bei in Getriebeanwendungen verwendet wird, hängt von den
Erfahrungen ab, die bei jeder spezifischen Anwendung gesammelt wurden. Produktanwendungen können
dabei eine gute Quelle für einen geeigneten Wert des Servicefaktors sein. Die Gleichungen 28 und 29 der
AGMA 2101-D04 werden verwendet, um Nennleistungen für einen einheitlichen Servicefaktor festzulegen, auf
die die festgelegten Servicefaktoren unter Verwendung der Gleichung 30 angewendet werden können. In
diesem Fall wird der Lebensdauerfaktor anhand der Anzahl an Lastzyklen berechnet, die einer bestimmten
Anzahl von Stunden bei einer einer bestimmten Drehzahl entsprechen, um die Nennleistung für einheitliche
Servicefaktoren zu ermitteln.
Wenn besondere Erfahrungen und eine zufriedenstellende Leistung durch die erfolgreiche Anwendung etablierter Servicefaktoren nachgewiesen wurden, können Werte für \(Z_{N}\) und \(Y_{N}\) von 1,0 angemessen sein.
Herstellungs- und Einbauungenauigkeiten sowie Verlagerungen der Räder unter Last führen dazu, dass die Zähne nicht auf ihrer ganzen Breite voll zum Tragen kommen. Bei größeren Verlagerungen besteht sogar die Gefahr des Kantentragens. Um die Auswirkungen der Herstellfehler und die belastungsbedingten Verformungen auf die Lastverteilung zu minimieren sowie die Laufeigenschaften zu verbessern und Laufgeräusche zu mindern, werden gewollte Abweichungen von der theoretischen Form in Zahnhöhenrichtung und von der theoretischen Flankenlinie in Breitenrichtung ausgeführt.

Es gibt verschiedene Arten von Zahnkorrekturen. Kurze und lange lineare oder kurze und lange
kreisförmige Kopf- und Fußrücknahmen sind typische Profilmodifikationen. Breitenballigkeit und
Endrücknahme gehören zu den wichtigsten Flankenlinienkorrekturen und wirken sich günstig auf die
Lastverteilung über der Zahnbreite aus. Durch Breitenballigkeit oder Endrücknahme kann eine
schiefe Lastverteilung abgebaut werden. Voraussetzung für die Anwendung von Modifikationen ist
eine DIN-Qualität von 7 oder feiner, da Profilkorrekturen nur bei einer Mindestgenauigkeit sinnvoll
sind.
Bei einer Profilmodifikation werden die Flanken teilweise hinter die Evolvente zurückgenommen.

Bei der Kopfrücknahme und Fußrücknahme wird das Flankenprofil am Zahnkopf bzw. am Zahnfuß durch eine zusätzliche Werkstoffabtragung verändert. Das erzeugte veränderte Flankenprofil geht möglichst stetig in das theoretische Flankenprofil über. Werden Zahnkopf und Zahnfuß gleichzeitig zurückgelegt, dann ergibt sich daraus die Höhenballigkeit.

Die einfachste Korrektur ist die Kopfrücknahme am Ritzel. Aus der Listbox können Sie für die Kopf- und
Fußrücknahme die Formen lineare sowie kreisförmige Rücknahme auswählen. Die lineare
Rücknahme hat den größten Materialabtrag zur Folge und somit die größte Entlastung im wirksamen
Flankenbereich.
Bei der Festlegung der Längen der Profilkorrektur unterscheidet man zwischen kurzer und langer Profilkorrektur. Bei langer Kopf- und Fußrücknahme ist das gesamte Doppeleingriffsgebiet korrigiert, während bei kurzer Ausführung nur die Hälfte des Doppeleingriffsgebiets zurückgenommen ist. Es werden entweder lange oder kurze Rücknahmen auf einer Verzahnung realisiert. Für möglichst geräuscharme Getriebe ist meistens die lange Profilkorrektur geeignet, die kurze Profilkorrektur hat ein besseres Lastverhalten. Sofern die Sprungüberdeckung ausreicht, ist eine lange Profilkorrektur eher für eine Schrägverzahnung geeignet.

Die lineare Kopf- und Fußrücknahme wird im eAssistant mit einer Übergangsrundung vom korrigierten zum unkorrigierten Bereich ausgeführt. In die entsprechenden Eingabefeldern können Sie den Beginn sowie das Ende der Übergangsrundung eingeben.

Haben Sie auf einer Zeichnung nur einen Durchmesser gegeben, ist es möglich, einen Durchmesser zu definieren. Klicken Sie auf den „d/l“-Button auf der rechten Seite, um zwischen der Eingabe der Rücknahme als Durchmesser oder als Länge umzuschalten.
Weiterhin können Sie einen Übergangsbereich vom korrigierten zum unkorrigierten Bereich definieren. Bei der kreisförmigen Rücknahme entfällt die Eingabe des Übergangsbereichs. Aktivieren Sie die Checkbox „Theoretische Eingriffsstrecke verwenden“ wird die theoretische Eingriffsstrecke des Zahnrades mit einer Zahnstange genutzt.

Kopfrücknahme und Fußrücknahme (gemeinsam angewandt) ergeben die Höhenballigkeit. Verglichen zum theoretischen Profil werden Zahnkopf und Zahnfuß zurückgenommen.

Die Höhenballigkeit kann als symmetrische Balligkeit aus der Listbox ausgewählt werden, anschließend können Sie für \(C_{ha}\) einen Wert in das Eingabefeld ergänzen.
Bei Breitenkorrekturen handelt es sich um gewollte Abweichungen von der Flankenlinie. Wenn Breitenballigkeit und Endrücknahme sinnvoll gewählt werden, dann wirken sich beide sehr günstig auf die Lastverteilung aus.

Bei der Endrücknahme wird die Zahndicke an einem Zahnende gemindert, dadurch lässt sich eine Überlastung des jeweiligen Zahnendes minimieren. Eine Endrücknahme empfiehlt sich nur dann, wenn Balligschleifen oder -schaben nicht möglich sind. Im Allgemeinen wird die Rücknahme für beide Zahnenden gleich groß gewählt.

Die Endrücknahme kann beidseitig, links oder rechts ausgeführt werden.




Nach DIN 3990 Teil 1 berechnet sich die Höhe der Endrücknahme wie folgt:
Für vergütete Räder: \(C_{e} \approx F_{\beta xcv}\) zuzüglich einer Herstelltoleranz von 5 bis 10 \(\mu m\). Entsprechend der Festlegung für \(F_{\beta xcv}\) (ursprünglich wirksame Flankenlinienabweichung im Betrieb) in DIN 3990 soll \(C_{e}\) betragen:
\[C_{e} = f_{sh} + 1,5 \cdot f_{H\beta }\]
Für randschichtgehärtete und nitrierte Räder: \(C_{e} \approx 0,5 \cdot F_{\beta x cv}\) zuzüglich einer Herstelltoleranz von 5 bis
10 \(\mu m\). \(C_{e}\) soll damit ungefähr betragen:
\[C_{e} = 0,5 \cdot (f_{sh} + 1,5 \cdot f_{H\beta })\]
Für sehr steife Konstruktionen, bei denen \(f_{sh}\) nahezu vernachlässigt werden kann oder wo die Verformung im Mittel durch eine Flankenlinien-Winkelkorrektur ausgeglichen wird, darf man ansetzen:
\[C_{e} = f_{H\beta }\]
Für sehr genaue und betriebssichere Räder mit hohen Umfangsgeschwindigkeiten reichen 60 bis 70% der oben angegebenen Werte.
Nach DIN 3990 Teil 1 berechnet sich die Breite der Endrücknahme wie folgt:

Bei ungefähr gleichbleibender Belastung und höheren Umfangsgeschwindigkeiten:
\(l_{e}\)= kleinerer Wert von \(0,1 \cdot b\) oder \(1 \cdot m\)
Bei unterschiedlichen Belastungen, kleinen und mittleren Geschwindigkeiten wählt man:
\[b_{red} = (0,5\ bis\ 0,7) \cdot b\]
Man benutzt diese Art von Flankenkorrektur, um Herstellabweichungen und Verformungen der Zahnräder unter Last auszugleichen und insbesondere die Zahnenden zu entlasten und ein Kantentragen bei unterschiedlichen Betriebsbelastungen zu vermeiden.

Die Balligkeit wird üblicherweise symmetrisch zur Mitte der Verzahnungsbreite oder asymmetrisch ausgeführt. Bei der Breitenballigkeit weicht die Zahnflanke von ihrer theoretischen Form in Richtung der Zahnbreite ab, so dass die Flankenlinie zum Zahninneren hin gekrümmt ist. Sie können zwischen symmetrischer und asymmetrischer Breitenballigkeit wählen.

Nach DIN 3990 Teil 1 berechnet sich die Höhe der Breitenballigkeit wie folgt:
\[C_{b} = 0,5 \cdot (f_{sh} + 1,5 \cdot f_{H\beta })\]
Für sehr steife Konstruktionen, bei denen \(f_{sh}\) nahezu vernachlässigt werden kann oder wo die Verformung im Mittel durch eine Flankenlinien-Winkelkorrektur ausgeglichen wird, darf man ansetzen:
\[C_{b} = f_{H\beta }\]
Für sehr genaue und sicher ausgelegte Räder mit hohen Umfangsgeschwindigkeiten reichen 60 bis 70% der oben angegebenen Werte aus, wobei \(10 \leq C_{b} \leq 25\ \mu m\) sein soll, zuzüglich einer Herstelltoleranz von ungefähr 5 \(\mu m\).

Wenn Flankenteile von Zahn und Gegenzahn außerhalb der Eingriffslinie zur Berührung kommen oder die Gesamtüberdeckung \(\epsilon _{\gamma } < 1\) ist, dann treten Eingriffsstörungen auf. Insbesondere können Eingriffsstörungen bei großer Profilverschiebung sowie bei sehr kleinem Kopfspiel dadurch auftreten, dass der Zahnkopf eines Rades in die Fußausrundung des Gegenrades läuft. Durch Eingriffsstörungen sind erhöhte Laufgeräusche, Schäden wie Zahnbruch und erhöhter Verschleiß möglich. Ist ein genormtes Bezugsprofil vorhanden, können Eingriffsstörungen noch durch folgende Maßnahmen beeinflusst oder sogar beseitigt werden:
Wenn sich stets mindestens ein Flankenpaar im Eingriff befindet, ist eine Verzahnung problemlos lauffähig. Vorallem bei Geradverzahnungen kann es zu einer kleinen Überdeckung kommen durch:
Die Bedingung für einen ruckfreien Lauf lautet:
\[\epsilon _{\gamma } = \epsilon _{\alpha } + \epsilon _{\beta } > 1\]
Im Ergebnisfeld wird Ihnen die Gesamtüberdeckung angezeigt. Ist die Bedingung \(\epsilon _{\gamma } = \epsilon _{\alpha } + \epsilon _{\beta } > 1\) nicht erfüllt, wird die Gesamtüberdeckung rot markiert und Sie erhalten einen Hinweis im Meldungsfenster.

Das Berechnungsmodul enthält ein Meldungsfenster, in denen Informationen, Hinweise oder Warnungen aufgelistet werden. Die eAssistant-Software erkennt bereits während der Dateneingabe auftretende Fehler und zeigt Ihnen sogleich Lösungsvorschläge im Meldungsfenster an. Wenn Sie die verschiedenen Hinweise und Warnungen beachten und befolgen, lassen sich schnell Fehler in Ihrer Berechnung beheben.

Bewegen Sie den Mauszeiger über ein Eingabefeld oder über einen Button, so erhalten Sie zusätzliche Informationen, die Ihnen in der Kurzhilfe angezeigt werden.

Die Ergebnisse (Sicherheiten für Fuß, Flanke und Fressen, Profilüberdeckung) werden bereits während jeder Eingabe berechnet und immer aktuell im Ergebnisfeld angezeigt. Es wird nach jeder abgeschlossenen Eingabe neu durchgerechnet. Dadurch werden jegliche Veränderungen der Eingabewerte auf die Ergebnisse schnell sichtbar. Werden die Mindestsicherheiten nicht erfüllt, so wird das Ergebnis mit einer roten Markierung angezeigt. Grundsätzlich können Sie jede Eingabe mit der Enter-Taste oder mit einem Klick in ein neues Eingabefeld abschließen. Alternativ können Sie mit der Tab-Taste durch die Eingabemaske springen oder nach jeder Eingabe auf den Button „Berechnen“ klicken. Auch hierbei werden die Werte entsprechend übernommen und die Ergebnisse sofort in der Übersicht angezeigt.

Nach Abschluss Ihrer Berechnungen haben Sie die Möglichkeit, ein Protokoll zu generieren. Klicken Sie dazu auf den Button „Protokoll“, um das Protokoll zu öffnen.

Das Protokoll enthält ein Inhaltsverzeichnis. Hierüber lassen sich die gewünschten Ergebnisse schnell aufrufen. Es werden Ihnen alle Eingaben sowie Ergebnisse aufgeführt. Das Protokoll steht Ihnen im HTML- und im PDF-Format zur Verfügung. Sie können das erzeugte Protokoll zum Beispiel im HTML-Format abspeichern, um es später in einem Web-Browser wieder oder im Word für Windows zu öffnen.

Das Berechnungsprotokoll lässt sich drucken oder auch speichern:
Nach der Durchführung Ihrer Berechnung können Sie diese speichern. Sie haben dabei die Möglichkeit, entweder auf dem eAssistant-Server oder auf Ihrem Rechner zu speichern. Klicken Sie auf den Button „Speichern“ in der obersten Zeile des Berechnungsmoduls.

Um die Berechnung lokal auf Ihrem Rechner zu speichern, müssen Sie die Option „Lokal“ im Berechnungsmodul aktivieren.

Haben Sie diese Option nicht aktiviert, so öffnet sich ein neues Fenster und Sie können Ihre Berechnung auf dem eAssistant-Server speichern. Geben Sie unter „Dateiname“ den Namen Ihrer Berechnung ein und klicken Sie auf den Button „Speichern“.

Mit dem Button „Zurück“ (linker Pfeil) können Sie vorhergegangene Eingaben zurücksetzen. Wenn Sie eine rückgängiggemachte Eingabe wiederherstellen wollen, dann klicken Sie auf den Button „Vorwärts“ (rechter Pfeil).

In der obersten Zeile des Berechnungsmoduls finden Sie den Button „CAD“.

Auf der Basis Ihrer Berechnung lassen sich über diesen Button „CAD“ Zahnstange und Ritzel in einem
DXF-Format oder über das eAssistant CAD-PlugIn in einem 3D-CAD-System, wie zum Beispiel
SOLIDWORKS oder Solid Edge, erzeugen.
Klicken Sie im Berechnungsmodul auf den Button „CAD“, anschließend auf den Menüpunkt „DXF-Ausgabe“. Damit kann die exakte Zahnform von beliebigen evolventischen Verzahnungen im 2D-DXF-Format mit den unterschiedlichen Einstelloptionen generiert werden.

Für die DXF-Ausgabe sind die folgenden Einstelloptionen möglich:

Wenn Sie Ihre Einstellungen angepasst haben, dann klicken Sie auf den Button „OK“. Ein Windows-Dialog zum Speichern der Datei öffnet sich.

Sie können die DXF-Datei jetzt auf Ihrem Rechner speichern. Geben Sie einen Dateinamen ein und klicken Sie
auf den Button „Speichern“. Die Dateiendung „dxf“ müssen Sie hier nicht angeben, da diese automatisch an
den Dateinamen angehängt wird.
Eine weitere Erweiterung ist das GDE-Ausgabeformat. GDE steht hier für Gear Data Exchange. Dieses Format ist in der VDI/VDE Richtlinie 2610 definiert und wird bereits von vielen Messmaschinenherstellern unterstützt. Damit können die Verzahnungsdaten von Stirnrädern und Zahnwellen direkt aus der Berechnung in die Software der Messmaschine eingelesen werden. Mit nur wenigen Mausklicks lässt sich dann ein Messprogramm erstellen. Dabei werden Übertragungsfehler vermieden und es kann mit einer einheitlichen Messanweisung gearbeitet werden.

Auf Basis Ihrer Berechnung können mit dem eAssistant CAD-PlugIn schräg- und geradverzahnte Stirnräder (außen- und innenverzahnt) featurebasiert im 3D automatisch erstellt werden. Toleranzen, Kopfkantenbruch, Profilverschiebung sowie die Profilmodifikationen (Kopf- und Fußrücknahme) werden mit berücksichtigt und es wird die exakte Zahnform modelliert. Klicken Sie auf den Button „CAD“, anschließend wählen Sie das entsprechende CAD-System für den Export aus.

Öffnen Sie jetzt ein CAD-System. Über einen integrierten Menüpunkt „eAssistant“ im CAD-System können
Sie mit der Generierung der berechneten Paarung starten.
Hinweis: Das entsprechende eAssistant CAD-PlugIn muss bereits auf Ihrem CAD-Rechner installiert sein. Das
Plugin steht zum Download auf unserer Webseite www.eAssistant.eu bereit.
Zu den entsprechenden 2D-Ableitungen der Zahnräder können jederzeit per Mausklick auch die Herstelldaten
auf eine Zeichnung plaziert werden.
Hinweis: Benötigen Sie nähere Informationen zum eAssistant CAD-Plugin, so können Sie sich
jederzeit gern an uns wenden. Weitere Einzelheiten erfahren Sie auch über unsere Webseite
www.eAssistant.eu oder in dem Hilfe-Manual zum eAssistant CAD-PlugIn, welches Sie auch auf der
Webseite finden können.
Über den Button „CAD \(\Rightarrow \) Herstelldaten“ lassen sich die Herstelldaten alternativ auch als Textdatei speichern.

Die Zahnform einer Zahnlücke kann als Koordinatentextdatei sowohl im Stirn- als auch im Normalschnitt ausgegeben werden.

Klicken Sie auf den Button „Einstellungen“ in der obersten Zeile des Berechnungsmoduls.

Diese Option gibt Ihnen die Möglichkeit, die folgenden Standardeinstellungen im Berechnungsmodul zu ändern:
